Estación de medición de Rayos Ultravioleta energizado por un Sistema Fotovoltaico

Ultraviolet measurement station energized by a Photovoltaic System

DOI: http://doi.org/10.17981/ingecuc.16.2.2020.12

Artículo de Investigación Científica. Fecha de Recepción: 05/09/2019. Fecha de Aceptación: 17/05/2020.

Edward Jhohan Marín-García

Universidad del Valle. Cartago (Colombia)

marin.edward@correounivalle.edu.co

Sandra Liliana Alzate-Plaza

Universidad del Quindío. Armenia (Colombia)

slalzate@uniquindio.edu.co

Andrés Felipe Serna-Ruiz

Universidad del Quindío. Armenia (Colombia)

afserna@uniquindio.edu.co

Para citar este artículo:

E. Marín García, S. Alzate Plaza, A. Serna Ruiz “Estación de medición de Rayos Ultravioleta energizado por un Sistema Fotovoltaico.”, INGE CUC, vol. 16, no. 2, pp. 163–179, 2020. DOI: http://doi.org/10.17981/ingecuc.16.2.2020.12

Resumen

Introducción— En el presente artículo se expone el diseño y la implementación de una Estación de Medida de Radiación UltraVioleta (UV), conocida como Solmáforo, energizado por un sistema fotovoltaico aislado y manejo de información vía web haciendo uso del concepto Internet de las Cosas (IoT). Se presenta la implementación de un sistema que registra y muestra, de diferentes formas, el índice de radiación UltraVioleta (IUV) del lugar, haciendo uso de la técnica Timer Off, la cual es usada para reducir el consumo energético. Para el diseño del dispositivo se utilizó la metodología Top Down, comenzando desde un nivel superior, y dividiendo en módulos con un ciclo de verificación y simulación para un óptimo rendimiento a nivel de consumo energético. Para el bosquejo del sistema fotovoltaico aislado se utilizó el software “Herramienta para el Dimensionamiento de Sistemas Fotovoltaicos Aislados (DFSA)” desarrollado por los investigadores y en el cual se encuentra la base de datos de la radiación solar en el campus universitario. La estación está localizada en un espacio al aire libre del campus de la Universidad del Quindío, con el fin de mantener a la comunidad informada visualmente acerca de los niveles de radiación (UV). La visualización del IUV y la información de la exposición de radiación UV adecuada del cuerpo se hace de acuerdo bajo la Organización Mundial de la Salud (OMS). La visualización de las variables se hace en tiempo real por medio de una interfaz virtual implementada en Python y los datos almacenados en MySQL.

Objetivo— Desarrollar un sistema electrónico que permita la visualización del IUV en la Universidad del Quindío y presente información preventiva a la comunidad usando el concepto IoT.

MetodologíaEn este aspecto se comenzó con el marco teórico relacionado con los rayos solares y la radiación UV, para luego implementar una estación de medición con acceso al público del campus universitario, generando mensajes informativos de precaución. Luego con la metodología Top Down se divide cada parte del proyecto en submódulos que genera una mejor búsqueda y asentamiento de los materiales y métodos a utilizar.

Resultados— Al comprobar dos métodos para el cálculo del IUV, el propuesto por ROHM y el propuesto por Zhang y Huang, se demuestra que el último es el más apto. Esto permite que el sistema entregue mejor información de los cambios de radiación UV, además de que se comprueba que los cambios de temperatura y humedad son directamente proporcionales a los cambios de radiación UV. Finalmente, al implementar la técnica Timer Off, el consumo energético del todo el sistema baja y las 4 horas de autonomía que se esperaba al usar la energía almacenada en las baterías, pasa a ser de 5 hasta 7 horas.

Conclusiones— La construcción de la estación de medición de rayos UV energizado por un sistema fotovoltaico cumple con el propósito de sensibilizar a la gente sobre el peligro de la alta exposición de los rayos UV y las recomendaciones que deben seguir para evita los más posible este tipo de inconvenientes. Además, implementa metodologías modernas sobre el consumo de energía como el uso del método Time Off y de energía renovables al usar panales para almacenar la energía de la radiación solar, convirtiendo en un sistema de medición autónomo, además, hace uso del concepto del IoT en el desarrollo de plataformas vía web y el uso de sistemas de comunicación inalámbricas.

Palabras clave— Radiación ultravioleta; sistema fotovoltaico; espectro electromagnético; índice de radiación ultravioleta; solmáforo

Abstract

Introduction— This article discusses the design and implementation of a UV Radiation Measurement Station, known as “Solmaphore”, and energized by an isolated photovoltaic system and information management via web using the Internet of Things (IoT) concept. The implementation of equipment that registers and shows in different ways the incident radiation (IUV) now and, it includes the Timer Off technique to reduce energy consumption. For the design of the device, the Top Down methodology was used, which the composition starts from a higher level, then, it is divided into modules and is followed by a verification and simulation cycle, looking for an optimum performance in terms of energy consumption. For the design of the isolated photovoltaic system, we used the “Tool for the dimensioning of isolated photovoltaic systems (DFSA)” software, developed by us in an earlier project, also, it has the database of solar radiation of the university campus. The station is in an open space of the University of the Quindío’s Campus, with the purpose to support the community visually informed about the levels UV. The UIV visualization and the suitable UV radiation exposure information for the body is done according to the World Health Organization (WHO). The visualization of the variables is done in real time by means of a virtual interface implemented in Python and the data stored in MySQL.

Objective— Develop an electronic system that allows the visualization of the IUV at the Universidad del Quindío and presents preventive information to the community using the IoT concept.

Methodology— For the methodology the work team stars with a theorical framework about the ultraviolet rays and ultraviolet radiation to implement caution measures needed to advise people. Then, with Top Down methodology, the project is divided in submodule that generates a better searching and settling of the materials and methods to use.

Results— Checking which is the better IUV estimation method between ROHM technique and Zhang and Huang’s technique, the tests show the last one gives better estimations. This allows the system brings good information about the ultraviolet radiation changes; besides it proves that the temperature and humidity changes are directly proportional to the UV radiation. Finally, implementing the Timer Off technique reduces the whole system energy consumption and the 4 hours of the system autonomy the team expected while using batteries energy, goes to 5 to 7 hours.

Conclusions— Building the ultraviolet measurement satiation energized by a photovoltaic system accomplishes the goal of people sensitizing about how dangerous the prolonged exposition of UV rays and the recommendations is they must follow to avoid these issues. On the other hand, system applies current methods about energy consumption like Timer off technique and renewable energy when using solar panel to store solar radiation energy, turning this system into an autonomous measurement system, in addition, it makes use of the IoT concept in the development of web platforms and the use of wireless communication systems.

Keywords— Ultraviolet radiation; photovoltaic system; electromagnetic spectrum; incident ultraviolet radiation; solmaphore

I. Introducción

Desde la década de los 70’s se ha venido presentando un incremento en la aparición de cáncer de piel en los seres humanos, este aumento se debe principalmente a los problemas ambientales que se están presentando con la disminución de la capa de ozono y la incidencia de los rayos UV sobre la tierra. Según estudios realizados por la Organización Mundial de la Salud (OMS), el Programa de las Naciones Unidas para el Medio Ambiente (PNUMA) y otras entidades gubernamentales de la salud, el exceso de la radiación UV no solo produce cáncer de piel, sino que también afecta la visión llegando a producir cataratas, foto conjuntivitis, foto queratitis, además de generar cierta vulnerabilidad en el sistema inmunológico de los seres humanos [1], [2].

La radiación UV es una variable de mucho cuidado para la salud humana, para lo cual, gobiernos de los países como China, Malasia, Chipre, Egipto, Brasil, Argentina y otros, se han dado la tarea en desarrollar sistemas sofisticados de medición experimental de variables a mediano y largo plazo, cuyos resultados plasmados en documentos sirven para mejoramiento de los estudios científicos y el desarrollo tecnológico, pero estos resultados para la gente del común no son entendibles y de poco interés, además que no cumplen con la tarea de prevención de la exposición al sol. En un acto de poder llegar a las personas de manera que pueda comprender sobre el peligro de exponerse a ciertos niveles de radiación UV, es importante contar con sistemas de medición en puntos estratégicos de afluencia, de tal manera que permita medir continuamente la radiación UV, pero además, fomentar por medio de mensajes lo importante que es el autocuidado.

En este sentido, para poder sensibilizar a la comunidad acerca de los peligros que representa la radiación UV, mostrando de forma didáctica el índice de radiación UV (IUV) y generar conciencia en las personas para que utilicen la protección adecuada evitando posibles afecciones de salud en un futuro, se implementó un sistema conocido como Solmáforo (semáforo solar), que presenta visualmente el código de colores establecido por la OMS, donde cada color comprende un valor IUV (adimensional) que va desde el verde (radiación baja, menor a 2) hasta violeta (radiación extremadamente alta, mayor a 11) [3], [4]. El objetivo de esta visualización en colores es mostrar fácilmente el IUV y alertar a las personas acerca del riesgo que corre al exponerse de forma prolongada o excesiva a esta y cómo se puede proteger, como aporte se le adiciona una visualización por medio de pasador de mensajes, el cual demás despliega la hora, la temperatura y la humedad. Para fines de eficiencia energética se tomó el tiempo de funcionamiento de la estación de 7 a.m. a 7 p.m. Por tanto, se realiza el dimensionamiento de la alimentación a 4 horas de autonomía.

La Fig. 1 muestra el Solmáforo y sus partes, se ubican los módulos fotovoltaicos los cuales se encuentran en la parte superior de la estación y se encarga de alimentar energéticamente el sistema. También se distingue el pasador de mensaje que muestra además de un mensaje alusivo a la Universidad del Quindío, el IUV, la temperatura, la humedad y la hora. Seguidamente se muestra la IUV representada en código de colores y el panel impreso que indica que hacer ante las diferentes intensidades de radiación, cabe anotar que en la parte posterior del panel impreso también se encuentra información acerca de las medidas a tomar.

Fig. 1. Solmáforo Universidad del Quindío.
Fuente: Autor.

Como información y recolección de datos, este sistema almacena la magnitud IUV, la temperatura ambiente y la humedad relativa, la cual es publicada periódicamente en la siguiente dirección y con la posibilidad de exportar los datos para uso investigativo:

https://thingspeak.com/channels/312379

II. Revisión Literaria

A. El sol y la Radiación Solar

El sol es por excelencia una de las fuentes más grandes de radiación en el universo, esto debido a su gran tamaño, su temperatura y las constantes reacciones químicos que produce para su funcionamiento normal; de hecho, la energía que emplea la atmósfera o los mares para realizar desplazamientos es tomada del sol [5].

La cantidad de energía que incide en una determinada región perpendicular a la propagación de la radiación a una distancia en promedio de 150 × 106 fuera del sol, se conoce como la constante solar representada por Io, tiene un valor de Io = 1370 ± 1.2 W/m2 [5], [6].

Se ha observado que la evolución del planeta de los seres vivos, han estado relacionados con la evolución del sol. Esto quiere decir que es importante que haya presencia de radiación en la atmósfera. Sin embargo, el efecto invernadero y los agujeros en la capa de ozono, han incrementado el ingreso de esta, haciendo que se vuelva perjudicial en la salud, cada vez que las personas se expongan a ellas sin protección alguna [7].

Entre las radiaciones que penetran la atmósfera terrestre se encuentra la Radiación Ultravioleta (UV), su importancia radica en que es la encargada de mantener el equilibrio térmico en el planeta. Los rayos UV se clasifican en tres tipos dependiendo la longitud de onda, UV-A, UV-B y UV-C. Este tipo de radiación es muy energética y puede ser perjudicial para el ser humano y con el paso de los años el filtro atmosférico que controla el paso de esta radiación hacia la tierra ha ido perdiendo fuerza [2], [8].

B. Radiación Ultravioleta

Es un segmento del espectro electromagnético comprendido en un rango entre 100 nm y 400 nm, la principal fuente de esta radiación es el sol, aunque en la tierra también se produce, pero de manera artificial en diferentes equipos electrónicos, por ejemplo, las cámaras bronceadoras. La radiación UV se clasifica en tres tipos dependiendo de la longitud de onda y los efectos biológicos que produce, estos tipos son: Radiación UV-A, Radiación UV-B y Radiación UV-C [1].

1) Efectos de la radiación UV en la piel

Existe una manera de cuantificar la dosis mínima de radiación UV hasta producir enrojecimiento (eritema) sobre la piel, a esta medida se le llama MED/Hora (Dosis Mínima Eritemática) que representa la dosis en [potencia/área]. En términos cuantitativos 1 MED/Hora = 5.83 μW/cm2, esto quiere decir que si una persona se expone a una radiación mayor a 5.83 μW en menos de una hora estará presentando un eritema sobre la zona expuesta. Los estudios para calcular el valor del MED/Hora se realizaron sobre un fototipo cutáneo tipo II [1].

El fototipo cutáneo define la capacidad de adaptación al sol por parte de la persona dependiendo de su tipo de piel. En la Tabla 1 se muestran los fototipos cutáneos, la protección que se debe aplicar contra la radiación UV y los niveles del IUV.

Tabla 1. Características de los fototipos cutáneos según su reacción al sol.

Fototipo cutáneo

Se quema tras la exposición al sol

Se broncea tras la exposición al sol

I.

Deficiencia de melanina

Siempre

Habitualmente

Raramente

Algunas veces

II.

III.

Con melanina suficiente

Algunas veces

Raramente

Habitualmente

Siempre

IV.

V.

Con protección melánica

Piel morena natural

Piel negra natural

VI.

Fuente: Organización mundial de la Salud, “Índice UV solar Mundial” [1].

Las consecuencias en la salud de los seres humanos que produce la exposición excesiva a la radiación UV se clasifican en tres grupos [1]:

Es una medida adimensional, que se creó en 1992 por tres científicos canadienses de la oficina de medio ambiente, teniendo gran impacto a nivel mundial. El experimento que se realizó para obtener el IUV fue exponer un metro cuadrado de piel humana a la radiación constante del sol durante una hora, de allí se comprobó que la dosis efectiva de radiación sobre la piel oscilaba en un rango entre 0 y 1500 Joules. Partiendo de esta medida se decidió darle una nueva representación a la información del IUV, por lo tanto, el número 1 equivale a 100 (j ∙ h)2/m2, el 2 a 200 (j ∙ h)2/m2 y así sucesivamente hasta el número 15 [1].

En cuanto a la forma de calcular el IUV es diferente para cada país debido a la consideración que se hace de factores ambientales, lo que genera incertidumbre en la medición [9]. De aquí que varias entidades deciden estandarizar el término IUV, entre ellas están la OMS y el PNUMA [11].

La importancia de que esta normatividad sea visible en lugares públicos como bibliotecas, sitios de trabajo, colegios, universidades, entre otros, radica en sensibilizar las personas, con el fin de reducir las afecciones producidas por la exposición excesiva al sol sin tomar las debidas precauciones [11].

El IUV es una gran herramienta que debe saber usarse, es por eso por lo que en 2003 la OMS decide crear una guía la cual tiene como principal objetivo servir de instrumento educativo para generar sensibilización en las personas, dicha guía titulada ÍNDICE UV SOLAR MUNDIAL Guía Práctica, es donde se encuentra la información que relaciona el valor numérico del IUV con consejos y medidas de protección preventivas dependiendo de la magnitud de este [1].

Bajo esta estandarización se relaciona diferentes rangos de magnitud IUV, con colores. La Fig. 2 muestra una forma didáctica de mostrar esta estandarización, por medio de un instrumento conocido como Solmáforo.

Fig. 2. Código de colores del solmáforo según la magnitud del IUV.
Fuente: Autor.

Para obtener el IUV a partir de la radiación UV que incide en una región se debe emplear (1) [12], esta ecuación genera un valor aproximado entre 0 y 20 partiendo de diferentes constantes y por supuesto de la radiación UV que se mida con algún sensor.

Donde Eλ es la radiación UV en [W/(m2 ∙ nm)], λ la longitud de onda UV y Ser (λ) el espectro de acción de referencia para el eritema a una longitud de onda λ y κer es una variable de peso equivalente a 40m2/W [8].

El modelo matemático que describe el espectro de acción para el eritema, con el fin de calcular el IUV se presenta en (2).

C. Sistema Fotovoltaicos

Un sistema fotovoltaico se puede definir como el conjunto de componentes tanto eléctricos como mecánicos, que se encargan de aprovechar y transformar la energía solar en energía eléctrica [13].

Existen dos tipos principales de sistemas fotovoltaicos, los autónomos que solo generan energía eléctrica a partir de la radiación solar y los interconectados que además utilizan la energía convencional o domiciliaría para la generación de este tipo de energía. Ambos sistemas pueden conectarse a cargas DC o AC, siempre y cuando se realicen las conversiones necesarias.

Los Sistemas Fotovoltaicos Autónomos o Aislados para cargas DC se usan con frecuencia en aplicaciones aisladas donde no se tenga acceso al suministro de la red y se necesite emplear otra fuente de energía. Una característica de este sistema fotovoltaico es que emplea un dispositivo de almacenamiento de energía, llamado acumulador o batería, con el fin de suplir la demanda en ausencia del sol (días nublados o la noche). En la Fig. 3 se observar el diagrama de bloques de un sistema fotovoltaico aislado [14].

Fig. 3. Diagrama de bloques de un sistema fotovoltaico aislado.
Fuente: Autor.

Los componentes generales de un sistema fotovoltaico aislado con cargas DC sin importar la topología, son principalmente cuatro: Panel solar o módulo fotovoltaico, regulador y batería.

En la hoja de especificaciones de los fabricantes se encuentra la curva que representa la variación de descarga de la batería en función de la corriente y la temperatura, ya que de esta forma se puede tener una idea de cuánto tiempo va a mantener la batería el voltaje, dependiendo de la corriente que se esté usando.

D. Estado del Arte

El Monitoreo meteorológico ha sido de gran utilidad en diferentes áreas del conocimiento, estar al tanto de las condiciones climáticas en tiempo real como, datos de temperatura, humedad relativa del aire, precipitación, radiación solar, velocidad del viento, entre otras, ha permitido una mejor planificación en las actividades en la agricultura, realizar múltiples investigaciones sobre los efectos de la radiación UV e irradiación en muchas zonas del mundo. Además, indagar sobre las nuevas tecnologías en la generación de energías renovables como los son la foto­voltaica y la termo solar, tomar decisiones y alertar sobre condiciones extremas climáticas. Estas estaciones están ubicadas en satélites y en diferentes zonas del mundo, permitiendo obtener información muy valiosa sobre las condiciones climáticas en diferentes partes.

El descubrimiento del agujero de la Antártida a principios de 1980 aumentó el interés mundial hacia la cantidad de radiación UV que cae sobre la superficie de la Tierra. Los peligros relacionados con la salud del ser humano, los animales, además de los efectos perjudiciales sobre el equilibrio del ecosistema acuático y el ecosistema terrestre, han hecho que cualquier información relacionada con esta variable sea muy valiosa [17].

Lo anterior indica la importancia del monitoreo de la radiación UV, para lo cual los desarrollos de sistemas de medición se hacen indispensable. Desafortunadamente, son escasos los sitios de medición de la radiación UV en todo el mundo, por lo general hacen parte de los sistemas de observación meteorológica. Además, muchas de estas estaciones han sido implementadas recientemente con fines de medición experimental. China comenzó a trabajar sobre la radiación UV en algunos lugares esporádicos en la década de 1980, que han venido expandiéndose a lo largo de los años. En el texto publicado por Wei Gong et al [18], se presenta la valoración y estimación de la radiación UV en tres estaciones, la primera ubicada a 112°54′E de longitud, 22° 41′N de latitud y 56.4 m de altitud, sobre Pearl River Delta, en donde las medidas utilizadas para el desarrollo del modelo en este estudio se obtuvieron de la estación de Heshan (HS), que se encuentra en la parte sur de la región delta del río Perla, China; otro punto es TH (Taihu), ubicado en 120° 13′E de longitud, 31° 25′N de latitud y 10 m de altitud. Por último, el observatorio MX (Maoxian), en 103°54′E de longitud, 31°41′N de latitud y 1826 m de altitud. El área de medición presenta una dosis alta de radiación solar la cual es medida con radiómetro CUV3 (5% de error aproximado). También Liu et al [19], presentan los resultados de una investigación sobre la radiación UV en China: distribución y tendencias espaciales. Para realizar esta investigación las mediciones fueron tomadas por 39 estaciones que conforman por la red CERN (Chinese Ecosystem Research Network), durante los años 2006 a 2012, para desarrollar un modelo de estimación UV semi - empírico. Estas estaciones se distribuyen a través de casi todos los ecosistemas típicos en China, incluidos los agrícolas, forestales, ecosistemas de pastizales, desiertos, pantanos, lagos, marinos y urbanos.

En el artículo publicado por Tan et al [17], sobre el estudio solar UV distribución de la dosis de eritema sobre la península de Malasia utilizando instrumentos de vigilancia del ozono, para el desarrollo de esta investigación, los datos se obtienen a partir de Instrumentos de Vigilancia del Ozono (OMI) que está a bordo del satélite AURA. Además, el estudio también se centró en analizar y mapear la distribución tendencia de la tasa de dosis diaria de eritema UV sobre la península de Malasia en el año 2015. Se concluye que para generar un eritema, el máximo valor de UV para una dosis diaria apareció en abril con su valor de 7711.43 Jm2 mientras que la dosis diaria mínima estaba en diciembre registrando un valor de 5518.13 Jm2.

Otro trabajo realizado en el oriente medio presentado por Kalogirou et al [20], presentan el análisis estadístico e inter-comparación de la radiación solar eritemática para Athalassa y Larnaca, Chipre”. Los datos de radiación en los que se basa dicho estudio se adquirieron en dos estaciones meteorológicas: una ubicada en el interior del país, exactamente en Athalassa a 33.396°E de longitud, 35.141°N de latitud y 165 m de altitud. La otra en el aeropuerto de Larnaca cerca la costa a 33.631°E de longitud, 34.873°N de latitud y 1 m de altitud. En este trabajo se presentan datos recopilados en el período de enero 2013 a diciembre de 2015, comparando la radiación UV eritemática (UVER) en dos sitios en Chipre que representa dos regímenes diferentes del clima.

Seguidamente, entre los continentes africano y asiático se encuentra el país de Egipto, el cual tiene una ciudad ubicada en la ribera oriental del río Nilo, próxima a Dendera, y unos 70 km al norte de Luxor, región subtropical, llamada Quena a 26.2°N de longitud, 32.7°E de latitud y 96 m de altitud. En este sitio, El-Nouby et al [21], realizaron una investigación sobre la evaluación de la relación entre la radiación UV-B de banda ancha a la radiación solar en todas las condiciones de nubosidad. El conjunto de datos utilizados en este estudio se recogió en la estación de South Valley Universidad de Investigación Meteorológica (SVUMRS), ubicado en Quena, que es una de las estaciones de guía de la Autoridad Meteorológica de Egipto (EMA). Por otra parte, se usó un piranómetro ultravioleta UVB-1 (No. 960842, Yankee Environmental Systems Inc.) para medir la irradiancia global de 280 nm a 320 nm. Además, un Piranómetro Espectral de Precisión (PSP No. 16317IS, Laboratorio Epply Inc.) asado para medir la irradiancia total de 295 nm a 2800 nm.

En Sur América, se presenta el análisis detallado de las mediciones en tierra de la radiación solar y UV en el noreste de Brasil en la ciudad de Recife (Estado de Pernambuco), teniendo como problemática la ubicación geográfica de la ciudad, la cual es muy cercana a la línea del ecuador, lo que causa los altos niveles de radiación (global y UV) prácticamente durante todo el año [22]. Para medir la radiación solar utilizaron un piranómetro PSP (Precision Spectral Pyranometer) marca Eppley, cuya precisión es del 3% y el rango de operación es de 300 nm a 3000 nm. La medición de radiación solar UV (A + B) se realizó con un radiómetro TUVR (The Total Ultraviolet Radiómetro) cuya precisión es < 5%, también marca Eppley. Ambos instrumentos de medición son llevados a un sistema de adquisición de datos de Campbell, modelo CR-1000X [22]. La estación Recife-PE está ubicada en un área metropolitana a −8°03′ de latitud, −34°55′ de longitud y 7 m de altitud.

En el texto publicado por investigadores de la Universidad Nacional de Córdoba se cuantifican los efectos del ozono y los aerosoles en la superficie en la irradiancia eritematosa UV-B (UVER) [23]. Las mediciones se realizaron con un piranómetro YES durante los años 2000 y 2013. El efecto del ozono y los aerosoles se ha cuantificado por medio del Factor de Amplificación de Radiación (RAF) y por un Factor de Aerosol (AF, análogo a RAF), respectivamente. Sobre la adquisición de los datos se obtuvieron con el Espectrómetro Cartográfico del Ozono Total (TOMS) Sonda de la Tierra a bordo de la nave espacial hasta el 2005 y el Instrumento de Vigilancia del Ozono (OMI) a bordo de la nave espacial desde AURA 2006 [23].

De acuerdo con los párrafos anteriores, se evidencia que en varias partes del mundo se viene trabajando muy seriamente con respecto a la incidencia de los rayos del sol en la tierra y sobre todo con la radiación UV y los efectos que pueden llegar a ocurrir a los seres humanos, animales y plantas, pero asimismo se muestra que dichos trabajos presentan desarrollos de sistemas de medición enfocados en la medición experimental de variables a mediano y largo plazo, llevándolos a resultados que se plasman en documentos o estudios científicos sofisticados; lo anterior muestra un camino de ámbito científico que es utilizado para un grupo selecto de personas (científicos, académicos, entre otros), pero la gente del común requiere de instrumentos que le indiquen en tiempo real, el valor de ciertas variables, además, que le presente en forma amigable las consecuencias cuando estos valores son nocivos para la salud humana. En este orden de ideas, existen una gran variedad de instrumentos que son utilizados para la medición de la radiación UV, que, acompañado de estrategias como: la sensibilización de las personas, la publicidad masiva, las recomendaciones de los organismos gubernamentales, entre otras, pueden generar un impacto significativo en la sociedad.

Para tener una medición exacta en una zona determinada, existen en el mercado gran variedad de artefactos cuya finalidad es medir la Radiación UV, los cuales presentan características como: rangos de trabajo, alta repetibilidad, memoria interna, bajo peso y tamaño; lo anterior varía de acuerdo con la marca y los diferentes precios ofrecidos al público. Un aspecto de estos equipos es su portabilidad, lo que significa, que solo tienen acceso a la información las personas que lo están manipulando. Esto no presenta una ventaja si se quiere informar a una comunidad sobre la radiación incidente en determinada zona.

Como poco a poco la sociedad ha tomado conciencia sobre la problemática ambiental que se vive actualmente y que la radiación a la que estamos expuestos diariamente es más peligrosa; se han venido diseñando e instalando estaciones de medición de rayos UV, con la finalidad de informar y prevenir a las personas sobre los protocolos de protección que deben tener en cuenta para evitar los problemas ya mencionados. Este tipo de sistema se le conoce comúnmente como “solmáforos”, el cual representa en un código de colores previamente establecido la magnitud del IUV, donde a cada valor numérico se encuentra asociado una serie de consejos de prevención para la protección contra la radiación UV.

Países con la iniciativa de desarrollar solmáforos fueron Chile (Compañía optoelectrónica Icalma), Argentina y Perú [24]. En Colombia, en junio de 2012, la Unidad Técnica Ozono (UTO), en cooperación con el Instituto de Hidrología, Meteorología y Estudios Ambientales (IDEAM) y el Programa de las Naciones Unidas para el Desarrollo (PNUD), instaló el primer solmáforo en la ciudad de Bogotá, en el recinto ferial de Corferias. Asimismo, durante el mes de septiembre, como parte de la celebración del Día Internacional de la Preservación de la Capa de Ozono, se instalaron cinco solmáforos en las ciudades de Cartagena, Cali, Medellín, Pereira y Pasto. En octubre del mismo año, en Bogotá se instaló el segundo solmáforo en la estación héroes de Transmilenio. Estos siete solmáforos cuentan con un sistema de transmisión de datos de radiación UV e Índice de Radiación (IUV), que envían a la sede del IDEAM en Bogotá D.C., entidad encargada del mantenimiento, calibración y de la publicación de los datos a través de la web [25]. Por otro parte, algunas ciudades han priorizado el hecho de concientizar a las personas sobre los daños de la radiación UV en la salud y han destinado recursos que permitan la implementación de más solmáforos, como es el caso de la ciudad de Cali, en el Valle del Cauca, la cual cuenta en la actualidad con tres puntos más, ubicados en sitios concurridos como las estaciones del Masivo Integrado de Occidente (MIO) Menga, Unidad Deportiva y Andrés Sanín [26].

Metodología

El desarrollo del proyecto se basó en la metodología general planteada en el diagrama de bloques de la Fig. 4.

Fig. 4. Diagrama de bloques: metodología utilizada.
Fuente: Autor.

A. Contexto del Proyecto

La Estación medidora de Radiación UV se encuentra ubicada en la Universidad del Quindío (Colombia), frente a la Biblioteca Euclides Jaramillo, la Fig. 5 muestra el mapa de la ubicación dentro del campus universitario. Es importante mencionar que al ubicar el sistema contiguo de la biblioteca, se tiene acceso a internet por medio de wifi en todo instante de tiempo, lo que permitió realizar aplicaciones en el concepto IoT.

Fig. 5. Plano ubicación estación de radiación UV.
Fuente: Planeación UQ.

El dispositivo se encuentra a la intemperie para poder sensar el índice de radiación UV, la temperatura y la humedad; la interacción con el usuario es visual y muestra por medio de colores la radiación solar; por medio de un pasador de mensajes el IUV, la temperatura, la humedad y la hora; y por medio de avisos impresos los significados de los colores de acuerdo con la OMS y los cuidados que se debe tener.

Las variables tenidas en cuenta para el desarrollo del equipo son: Variables de entrada (Radiación UV, Temperatura, humedad), variables de salida (índice de radiación UV, temperatura en °C y humedad en porcentaje).

B. Diseño e Implementación del Sistema de Medida de Rayos UV

Para el diseño e implementación de la estación, se forma un diagrama de bloques desglosado en 4 módulos, los cuales se muestran en la Fig. 4. El primero suple el suministro energético mediante el Sistema Fotovoltaico aislado; el segundo Timer Off o control de encendido y apagado; el tercero sistema de adquisición y control; y por último el sistema de visualización y almacenamiento.

A continuación, se describirá en detalle cada módulo:

1) Timer Off

Corresponde al control del encendido y apagado con el fin de reducir el consumo del sistema; se decide tomar un lapso de 15 minutos porque el cambio de las variables meteorológicas es lento y por tanto su sensado debe serlo también.

Esta unidad de control supone un microcontrolador, se propone el uso del ATmega8, que se encarga de configurar el Real Time Counter (RTC) vía I2C, controlar el encendido y apagado de un relé y generar las señales de control para el Solmáforo. El RTC seleccionado es el DS1307, principalmente porque posee un pin denominado SQWE el cual permite generar una señal cuadrada a 1 y se conecta a la INT0 del microcontrolador para contar los flancos de bajada y llevar la noción del tiempo transcurrido. El relé es de 5 V y se encarga de permitir el paso de corriente para alimentar el sistema de adquisición, de esta forma se controla el encendido y apagado del Sistema de Adquisición y Control.

Apagar el Sistema de Adquisición y Control (manejado por una Rasp Berry Pi 2, Rpi) con el relé puede afectar el funcionamiento de este o incluso bloquearlo, es por eso por lo que con el Timer Off se decide generar un pulso de 10 ms, 5 segundos antes de cerrar el relé, con el fin que se detecte el pulso e inmediatamente inicie el apagado de forma segura. En la Fig. 6 se observa un diagrama de tiempo de las señales que intervienen en el funcionamiento del Timer Off. La señal SQWE corresponde al pulso generado por el DS1307 de 1 Hz, la señal Pin B1 corresponde a el pulso de 10 que envía el Timer Off a la Rpi para el apagado seguro, como se puede observar la Rpi se apaga antes de que se apague el relé.

Fig. 6. Diagrama de tiempo del funcionamiento del Timer Off.
Fuente: Autor.

2) Sistema de Adquisición de Datos

Para esta etapa se utiliza una tarjeta Raspberry Pi 2. El sistema sensa tres variables que son: radiación UV, humedad relativa y temperatura ambiente, esto con el fin de brindar un servicio completo a la comunidad sobre algunas variables físicas a las cuales está expuesta en el diario vivir. Las referencias de los sensores que se emplean para la medición se observan en la Tabla 3.

Tabla 3. Sensores empleados y características.

Variable Física

Sensor

Voltaje de Operación

Variable de salida

Radiación UV

ML8511

3.3 V

Voltaje

Humedad relativa

HSM20G

5 V

Voltaje

Temperatura

HSM20G

5 V

Resistencia

Fuente: Datasheet de cada sensor.

Como la Rpi no posee un módulo de conversión analógico-digital, se decide emplear el ADC externo MPC3008, el cual posee una resolución de 10 bits, tiene 8 canales de conversión simple y se comunica vía SPI. Para garantizar los mismos niveles de tensión en la comunicación SPI se alimenta el MCP3008 a 3.3 V.

3) Cálculo del índice de Radiación Ultravioleta

La variable más importante que se calcula en este dispositivo es el IUV, ya que cuantifica la cantidad de daño que produce la radiación UV en la piel y se visualiza tanto en el Solmáforo como en el pasador de mensajes y se almacena en la base de datos. El sensor empleado para medir la radiación UV es el ML8511, este retorna un voltaje proporcional a la irradiación solar [W/m2]. Para aplicar (1), se necesita la irradiación espectral [W/(m2nm)], de forma tal que se debe realizar una conversión o utilizar otra alternativa. Existe un método propuesto por el fabricante ROHM Semiconductor®, este parte de (1) haciendo estimaciones de la cantidad de rayos UV-A y UV-B que penetran en la tierra.

El algoritmo principal de todo el sistema se desarrolló en Python, ya que es un lenguaje de alto nivel que permite la fácil conexión con bases de datos SQL, posee funciones optimizadas para desarrollar múltiples labores y es libre. Dicho algoritmo se puede segmentar en tres partes que son: La etapa de configuración general se enfoca principalmente a los pines GPIO de la Rpi y la adquisición de datos; empleando el estándar de comunicación SPI entre el MCP3008 y la Rpi, y la distribución de la información; los datos obtenidos de cada sensor se almacenan en una base de datos (MySQL).

Para la implementación del código en Python se descargaron tres módulos adicionales, el Rpi.GPIO, el MySQLdb para la comunicación con la base de datos MySQL; y el módulo SPIDEV para implementar la comunicación SPI.

El diagrama de flujo que describe los pasos para la comunicación SPI con el MCP3008 se observa en Fig. 7.

Fig. 7. Diagrama de flujo para realizar lectura con el MCP3008.
Fuente: Autor.

El solmáforo como dispositivo IoT se encuentra conectado de manera inalámbrica (wifi IEEE 802.11) con la base de datos MySQL, en donde los datos provenientes de los sensores son estructurados de tipo flotante y de fácil tratamiento; por medio de internet, se registran las medidas de radiación UV, humedad relativa y temperatura en la base de datos cada 15 minutos. Para difundir la información obtenida vía web, se utiliza la API gratuita ThingSpeak (aplicación de código abierto para IoT que permite realizar el almacenamiento y monitoreo de datos provenientes de sensores a través de gráficas). La información obtenida y almacenada en el servidor remoto, se gestiona y realiza el historial de las mediciones. La información obtenida también se distribuye en la web a través de ThingSpeak en el siguiente enlace:

https://thingspeak.com/channels/312379

El sistema de adquisición emplea un regulador conmutado LM2576, ya que la salida que genera el Timer Off es de 12 V y la Rpi se alimenta con 5 V. Este regulador tiene una alta eficiencia (> 80%) en comparación con la eficiencia de los reguladores discretos (< 50%).

4) Solmáforo y Aviso de LED

El Solmáforo está compuesto por 5 arreglos independientes de LED RGB, con el fin de mostrar los colores establecidos para este dispositivo. Para el control de cada lámpara del Solmáforo, se diseñó una etapa de potencia con transistores TIP122, puesto que los LED RGB funcionan a 12 V y por los pines del ATmega8 máximo se pueden generar 5 V. Mientras el pasador de mensajes tiene como característica que es doble línea, esto le permite escribir en una o dos líneas según sea necesario; el protocolo que usa de comunicación es UART a 9600 baudios y funciona a 5 V.

La conexión del acople en el sistema se realizó de la siguiente forma: la línea Low Side se conecta al pin TX de la Rpi y la línea High Side, se conecta al cable RX del aviso de leds, además se debe tener en cuenta realizar el acople de tierras con el fin de tener la misma referencia. La Fig. 8 presenta las conexiones.

Fig. 8. Acople del nivel lógico entre la Rpi y el aviso de leds usando un 2n7000.
Fuente: Autor.

Para la implementación en Python se usó el módulo Serial, el cual ya viene por defecto instalado en la Rpi. El canal UART se configuró para comunicarse con el aviso a 9600 baudios. En la Fig. 9 se observa el diagrama de flujo para enviar un dato al aviso de LED y en la Fig. 10 se muestra el diagrama funcional de todo el sistema y como se acopla los diferentes módulos de este.

Fig. 9. Diagrama de flujo para enviar datos al aviso del LED.
Fuente: Elaboración propia.
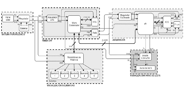
Fig. 10. Diagrama funcional del sistema completo.
Fuente: Propia.

C. Sistema Fotovoltaico Aislado

Es el encargado de suministrar la energía necesaria para alimentar todo el sistema a partir de paneles solares, reguladores y baterías. Para determinar la cantidad de elementos del sistema fotovoltaico se realizó inicialmente el dimensionamiento, con el requerimiento de garantizar 4 horas de autonomía, es decir, que en ausencia de radiación solar y con las baterías cargadas el sistema funcione correctamente mínimo durante 4 horas. Primero se realizó el estudio de consumo de los elementos que componen el sistema de adquisición y visualización, de esta forma se obtiene la carga total que debe alimentar el sistema fotovoltaico, el resultado se observa en la Tabla 4.

Tabla 4. Cálculo del consumo en amperios de los dispositivos empleados en el proyecto.

Dispositivo

Consumo Medio

Aviso LED

150 mA

Bombillo Solmáforo Violeta

530 mA

Bombillo Solmáforo Verde

650 mA

Bombillo Solmáforo Naranja

820 mA

Bombillo Solmáforo Rojo

900 mA

Raspberry Pi 2

1.8 A

Total

3.05 A

Fuente: Autor.

El total mostrado en la Tabla 5 se obtuvo de sumar el consumo de la Rpi, el aviso de LED y uno de los bombillos del Solmáforo. Se tomó solo un bombillo, ya que, en cualquier instante del día y dependiendo de la magnitud del IUV solo se encenderá un bombillo, para este caso se tomó en cuenta el bombillo Rojo que es el de mayor consumo.

Generalmente en los sistemas fotovoltaicos se suelen usar baterías de NiCd (Niquel Cadmio), ya que ofrecen mayor capacidad de corriente, tienen una taza de descarga más baja que muchas otras baterías y son resistentes a cambios de temperatura y a la intemperie. En este caso se usan baterías de plomo-acido principalmente porque son mucho más económicas que las de NiCd y tienen un comportamiento similar.

Para calcular la cantidad de paneles solares, el dimensionamiento se realizó con la herramienta “Sistemas Fotovoltaicos Aislados (DSFA)” [28], donde se crea el panel SYFD-P20W y el regulador SC-15.

IV. Resultados

Para validar la medida del IUV utilizando el método ROHM sobre otros métodos, se aplica los datos provenientes del DataSheet de los elementos electrónicos utilizados, que sirven para documentar el valor real del IUV calculado con un Solarómetro para una serie de medidas generadas por el ML8511. En la Fig. 11 se observa el resultado obtenido por los dos métodos y el valor real de IUV para un conjunto de medidas tomadas por el sistema.

Fig. 11. Resultados del desempeño de los dos métodos empleados para el cálculo de IUV.
Fuente: Autor.

En cuanto a determinar la precisión de cada método, se realizó el cálculo del error relativo entre los datos de cada método y el valor real del IUV, de esta forma se puede determinar cuál de los dos métodos implementar en el sistema. Los resultados del error se observan en la Tabla 5.

Tabla 5. Resultado del error relativo de los dos métodos empleados para el cálculo de IUV.

Método

Error Relativo

Desviación Estándar

ROHM Semiconductor®

22.41%

2.08%

Propuesto por los Zhang, Huang, Otros.

4.21%

1.75%

Fuente: Autor.

Para el método de ROHM Semiconductor® se obtuvo un error relativo de 22.41% ± 2.08% y para el método propuesto por los autores el error fue de 4.21% ± 1.75%, de esto se puede concluir que el método de los autores posee un menor error y una menor desviación estándar, por lo tanto, fue el elegido para implementarse en el sistema.

En el caso de determinar el número de paneles solares a utilizar, se carga la base de datos de la radiación solar del campus universitario a la herramienta DSFA [28], arrojando los siguientes resultados:

Gracias a los datos arrojados por la herramienta, las mediciones se realizaron con un solo panel, dos baterías de 12 V a 5 Ah y ubicando los sensores a la intemperie con una capa de acetato encima de cada transductor con el fin de protegerlo de la lluvia, el polvo o cualquier otro agente externo.

Para el cálculo del IUV, en el mes de noviembre del 2018 se realizaron mediciones durante dos semanas desde las 8 a.m. hasta las 4 p.m., donde se detalla que entre las 10 a.m. y las 2 p.m., se presenta los mayores valores de IUV durante el día debido al alto ángulo solar respecto a la zona, que provoca la penetración de más rayos UV en la tierra, como se muestra en Fig. 12.

Fig. 12. Datos promedio de las mediciones realizadas en el mes de noviembre de 2018.
Fuente: Autor.

El mes en el que se realizaron las mediciones, en Armenia Quindío se presentó un IUV máximo de 7, esto según el estándar propuesto por la OMS significa una clasificación de ALTO, lo que implica usar camisa de manga larga, sombrero y gafas con filtro UV-B y UV-A, además de mantenerse en la sombra el mayor tiempo posible e hidratarse constantemente debido al aumento de temperatura y humedad (se infiere que son directamente proporcionales al cambio del valor de IUV como observar la Fig. 12) entre las 10 a.m. y las 2 p.m. Es aquí donde este sistema juega un papel muy importante, ya que se este tipo de mensajes genera sensibilización en las personas sobre los riesgos de la exposición excesiva a la radiación UV, temperatura y humedad.

El desempeño del sistema fotovoltaico fue el esperado, en la Fig. 13 se observa que las mediciones se realizaron por más de 4 horas seguidas durante el día y en ningún momento se observa una caída del sistema o de la señal. Hay que tener en cuenta que en el mes de noviembre hubo temporada de invierno en la ciudad de Armenia, por lo tanto, la radiación solar que recibían los paneles fue poca durante el día y el sistema debía obtener la energía de las baterías, aun así, con el consumo constante del sistema y las baterías totalmente cargadas, el dimensionamiento del sistema fotovoltaico garantizaba 7 horas de autonomía.

Fig. 13. Resultados de las mediciones en un día del mes de noviembre de 2018.
Fuente: Autor.

Este consumo eficiente de energía que permite que el solmáforo opere en un gran umbral de tiempo cuando se utiliza la energía de las baterías se debe al uso del Timer Off, que enciende el sistema de medición cuatro veces en 1 hora (el tiempo de medición dura cuatro minutos), logrando reducir el consumo de 2 A de la Rpi a 0.13 A.

V. Conclusiones

El desarrollo de la estación de medición de rayos ultravioletas energizado por un sistema fotovoltaico ha permitido el uso de metodologías novedosas que conllevan al cuidado del medio ambiente, gracias a que se utilizó la energía del sol para energizar el solmáforo que garantiza un nivel de estabilidad en la red eléctrica y en conjunto con la aplicación de la técnica Time Off, se logró reducir un 45% el consumo de todo este sistema obteniendo una gran autonomía cuando solo se utilizaba la batería en días nublados.

En la Fig. 11 se visualizan los resultados de desempeño del método ROHM Semiconductor® y el propuesto por los autores, donde el resultado del error relativo del primer método es de 22.41% y segundo fue de 4.21%. De tal forma se determina que el método implementado por los autores presenta una buena confiabilidad.

En cuanto a la parte social, el solmáforo ayuda a sensibilizar y reflexionar a las personas sobre los peligros de los rayos ultravioletas y los cuidados que se deben tener a su exposición dado que Armenia presenta un IUV entre 8 y 9 regularmente. El sistema tecnológico implementado es de bajo costo y de alta eficiencia energética, se puede optar en el futuro, para instalarlos en varias zonas de la ciudad y del país, para que la información sobre el riesgo a la exposición prolongada de rayos ultravioletas abarque a más personas.

Para el desarrollo de trabajos futuros se plantea implementar un sistema que analice la piel y pueda determinar pigmentaciones o eritemas que se relacionen con la radiación UV, adicionalmente se pretende instalarle nuevos sensores para medir, almacenar y procesar otras variables climatológicas que afecten mejorar la calidad de vida de las personas, a la vez que esta información permita desarrollar aplicaciones de Bit Data y aprendizaje automático en otras investigaciones.

Financiamiento

Artículo de investigación científica derivado del proyecto de investigación que tiene como título “Estación de medición de rayos UV en la Uniquindio”, financiado por la “Universidad del Quindío”.

Agradecimientos

Un agradecimiento muy especial al ingeniero Juan Pablo Duque Ordoñez, por su gran aporte en la implementación de este proyecto

Referencias

[1] Organización mundial de la Salud, Índice UV Solar Mundial, Gnb. Ch.: OMS, 2003. Available: https://apps.who.int/iris/bitstream/handle/10665/42633/9243590073.pdf;jsessionid=C5215835DB8619F578549420E62F4282?sequence=1

[2] H.O. Benavides, “Información Técnica sobre la Radiación Ultravioleta, el Índice UV y Pronóstico”, IDEAM–METEO/001-2010, IDEAM, Bo. Co. 2010. Available: http://documentacion.ideam.gov.co/openbiblio/bvirtual/022454/NotatecnicaIUVPaginaWEBfinal.pdf

[3] C. Lema & D. Zuleta, “Solmáforo (Semáforo Solar): Modelo Ambiental De Alerta Por Exposición a La Radiación Solar En Quito”, Tesis grado, Dpto. Ing. Amb, UPS, UIO, Ec., Abr. 2015. Available: https://dspace.ups.edu.ec/bitstream/123456789/10091/6/UPS-ST001607.pdf

[4] UPME-IDEAM, Atlas de Radiación Solar de Colombia. Bog. Co.: INC, 2005.

[5] J. R. Hernández, “Implementación de un Sistema Automatizado de Adquisición de Datos Meteorológicos y Solarimétricos”, Tesis grado, UNISON, Son., Hmo., 1996.

[6] C. A. Correa, G. A. Marulanda & A. F. Panesso, “Impacto de la penetración de la energía solar fotovoltaica en sistemas de distribución: estudio bajo supuestos del contexto colombiano”, Tecnura, vol. 20, no. 50, pp. 8595, Sep. 2016. https://doi.org/10.14483/udistrital.jour.tecnura.2016.4.a06

[7] X. Blanco & P. Kajdic, “El Sol, Nuestra Estrella”, RDU, vol. 10, no. 10, pp. 117, Oct. 2009. Available: http://www.revista.unam.mx/vol.10/num10/art67/int67.htm

[8] W. Passchier & B. Bosnjakovic, Human Exposure to Ultraviolet Radiation: Risks an Regulations, NY, USA: Elsevier Science Publishers, 1987.

[9] M. Allaart, M. Van-weele, P. Fortuin & H. Kelder, “An empirical model to predict the UV-index based on solar zenith angles and total ozone,” Meteorol Appl, vol. 105, no. 1 , pp. 5965, 2004. https://doi.org/10.1017/S1350482703001130

[10] S. Everett Jones & G. P. Guy Jr, “Sun Safety Practices Among Schools in the United States,” JAMA Dermatology, vol. 153, no. 5 , pp. 391398, Mar. 2017. https://doi.org/10.1001/jamadermatol.2016.6274

[11] F. J. López, “El cuerpo humano ante los rayos solares”, La radiación solar: efectos en la salud y el medio ambiente, B. de la Morena(TIR.), Es.: UNIA, pp. 122136, 2010.

[12] P. Kiedron, S. Stierle & K. Lantz, “Instantaneous UV Index and Daily UV Dose Calculations”, NEUBrew Uvindex, NOAA/EPA Brewer Network, Wash, USA, Dic., 2007. Available: https://www.esrl.noaa.gov/gmd/grad/neubrew/docs/UVindex.pdf

[13] D. Díaz Corcobado & G. Carmona Rubio, Instalaciones solares fotovoltaicas, Md., Es.: Mc Graw Hill Interamericana de España, 2010.

[14] M. Alonso Abella, Sistemas fotovoltaicos. Md, Ep: CIEMAT, 2005.

[15] Energía Solar, “Módulo fotovoltaico”, Solar-Energia.net, [Online], 2018. Available: https://solar-energia.net/definiciones/modulo-o-panel-fotovoltaico.html

[16] C. J. Romero, “Análisis del funcionamiento de paneles fotovoltaicos y su utilización en las regiones de la costa y sierra del Ecuador. Caso de estudio: Biblioteca Pompeu Fabra de Mataró”, M.S. Thesis, Dept. Org. Emp., UPC, Bcn, Es., 2015.

[17] K. C. Tan, H. S. Lim & Z. M. Jafri, “Study on solar ultraviolet erythemal dose distribution over Peninsular Malaysia using Ozone Monitoring Instrument,” EJRS, vol. 21, no 1, pp. 105110, Apr. 2018. https://doi.org/10.1016/j.ejrs.2017.01.001

[18] W. Gong, M. Zhang, L. Wang, B. Hu & Y. Ma, “Measurement and estimation of ultraviolet radiation in Pearl River Delta, China,” J Atmos Sol-Terr Phys, vol. 123, no. 123, pp. 6370, Feb. 2015. https://doi.org/10.1016/j.jastp.2014.12.010

[19] H. Liu, B. Hu, L. Zhang, X.J. Zhao, K.Z. Shang, Y.S. Wang & J. Wang, “Ultraviolet radiation over China: Spatial distribution and trends,” Renew Sust Energ Rev, vol.76, no. 76, pp. 13711383, Sep. 2017. https://doi.org/10.1016/j.rser.2017.03.102

[20] S.A. Kalogirou, S. Pashiardis & A. Pashiardi, “Statistical analysis and inter-comparison of erythemal solar radiation for Athalassa and Larnaca, Cyprus,” Renewable Energy, vol. 111, no. 1, pp. 580579, Oct. 2017. https://doi.org/10.1016/j.renene.2017.04.043

[21] M. El-Nouby & E. A. Ahmed, “An assessment of the ratio of ultraviolet-B to broadband solar radiation under all cloud conditions at a subtropical location”, Adv in Space Res, vol. 57, no. 57, pp. 764775, Feb. 2016. https://doi.org/10.1016/j.asr.2015.11.030

[22] C. Tiba & S. da Silva, “Enhancement of UV Radiation by Cloud Effect in NE of Brazil”, Int J Photoenergy, pp. 19, 2017. https://doi.org/10.1155/2017/8107435

[23] G. G. Palancar, L. E. Olcese, M. Achad, M. L. López & B. M. Toselli, “A long term study of the relations between erythemal UV-B irradiance, total ozone column, and aerosol optical depth at central Argentina”, J Quant Spectrosc Radiat Transf, vol. 198, No. 1, pp. 4047, Sep. 2017. https://doi.org/10.1016/j.jqsrt.2017.05.002

[24] República de Colombia. Consejo de Bogotá, “Por medio del cual se promueve la creación de una red de vigilancia del índice de radiación solar ultravioleta, en la ciudad de Bogotá D.C. y se adoptan otras disposiciones”, Proyecto acuerdo No. 075, 2016. Available: http://www.alcaldiabogota.gov.co/sisjur/normas/Norma1.jsp?i=65284

[25] Ministerio de Ambiente y Desarrollo Sostenible. Solmáforos, “Minambiente,Minambiente.gov.com, [Online], 2017. Available: www.minambiente.gov.co

[26] Revista Ambiental Catorce 6, “Cali y sus 'solmáforos' para medir la radiación”, [Online], 2018. Available: https://www.catorce6.com/investigacion/12449-cali-y-sus-solmaforos-para-medir-la-radiacion

[27] R.J. Schweers, “Metodologías de diseño de hardware”, [Online], 2002. Available: http://sedici.unlp.edu.ar/bitstream/handle/10915/3835/2_-_Metodolog%C3%ADas_de_dise%C3%B1o_de_hardware.pdf?sequence=4&isAllowed=y

[28] S. L. Alazate-Plaza, A. F. Serna-Ruiz y E. J. Marín-García, “Herramienta para el dimensionamiento de un sistema fotovoltaico aislado”, Lámpsakos, no. 16, pp. 6174, Dic. 2016. https://doi.org/10.21501/21454086.1936

Edward Jhohan Marín García es Magister en Ingeniería Eléctrica de la Universidad Tecnológica de Pereira (Colombia), Ingeniero Electrónico y Tecnólogo Electrónico de la Universidad del Quindío (Colombia). Docente de la Universidad del Valle (Cartago, Colombia). Actualmente director del grupo de investigación GIIDEA de la Universidad del Valle (Colombia). https://orcid.org/0000-0003-0718-9996

Sandra Liliana Alzate Plaza es Magister en Ingeniería Eléctrica de la Universidad Tecnológica de Pereira (Colombia) e Ingeniera Electrónica de la Universidad del Quindío (Colombia). Docente de la Universidad del Quindío, vinculada actualmente al grupo de investigación ELECTRAE de la misma universidad. https://orcid.org/0000-0002-7021-099X

Andrés Felipe Serna Ruiz es Magister en Ingeniería Eléctrica de la Universidad Tecnológica de Pereira (Colombia), Ingeniero Electrónico y Tecnólogo Electrónico de la Universidad del Quindío (Colombia). Docente de la Universidad del Quindío (Colombia), vinculado actualmente al grupo de investigación GIDET de la misma universidad. https://orcid.org/0000-0003-2683-7995