.
Modul. Arquit. CUC 29: 153–194, 2022
Análisis y diagnostico bioclimático de las viviendas de interés social de la ciudad de Poza Rica, Ver.
Bioclimatic analysis and diagnosis of social interest housing in the city of Poza Rica, Ver.
DOI: 10.17981/mod.arq.cuc.29.1.2022.07
Artículo. Fecha de Recepción: 7/5/2022. Fecha de Aceptación: 18/6/2022.
Universidad Veracruzana. Veracruz (México)
dr.arqmorales@gmail.com
.
Para citar este artículo:
Morales, C. (2022). Analisis y diagnostico bioclimatico de las viviendas de interés social de la ciudad de Poza Rica, Ver.. MODULO ARQUITECTURA CUC, 29, 153–194. http://doi.org/10.17981/mod.arq.cuc.29.1.2022.07
.
Resumen
La siguiente investigación se realizó para generar un diagnóstico bioclimático de la ciudad de Poza Rica en Veracruz (México), ya que la creciente necesidad de espacios confortables son cada vez más demandados por los cambios frecuentes en la naturaleza, por lo que este estudio se basó en analizar el sistema climatológico de la zona y diagnosticar si los espacios dentro de la vivienda son confortables, la disertación se centró en la vivienda de interés social, ya que estas edificaciones habitacionales dentro de la ciudad no contemplan una buena orientación y manejo de estrategias que regulen el microclima de su espacio. Por lo que la presente investigación se orientó en un caso de estudio que tiene como objetivo diagnosticar el acondicionamiento micro climático del espacio en la vivienda de interés social, y si verificar si realmente se tuvieron los criterios de diseño para realizar un acondicionamiento térmico que ayudaría a mitigar la transferencia de calor dentro del espacio habitable. Esto conllevo a analizar modelos digitales que fueron simulados con el software Ecotect, donde se realizó el análisis solar, y en cuanto a la simulación del viento, con Autodesk CFD se realizo el análisis de corriente de aire dentro del espacio, lo cual ayudo a verificar las condiciones de regulación térmica dentro de la vivienda.
Palabras Claves: Análisis habitacional; simulación espacial; diagnostico bioclimático; Vivienda de Interés Social
Abstract
The following investigation was carried out to generate a bioclimatic diagnosis of the city of Poza Rica, Veracruz (Mexico), since the growing need for comfortable spaces is increasingly demanded by frequent changes in nature, so this study was based on analyzing the climatological system of the area and diagnose if the spaces inside the house are comfortable, the dissertation focused on social housing, since these residential buildings within the city do not contemplate a good orientation and management of strategies that regulate the microclimate of your space. Therefore, the present investigation was oriented towards a case study that aims to diagnose the microclimatic conditioning of the space in social housing, and whether to verify if the design criteria were really met to carry out a thermal conditioning that would help mitigate heat transfer within the living space. This led to the analysis of digital models that were simulated with the Ecotect software, where the solar analysis was carried out, in terms of wind simulation with Autodesk CDF, which carried out the analysis of the air current within the space, which helped to verify the conditions thermal regulation inside the house.
Keywords: Habitation Analysis; Spatial Simulation; Bioclimatic Diagnosis; Social interest housing
Introduccion
Actualmente, la vivienda de interés social poseen variadas deficiencias en cuanto a servicios, espacio (m2), infraestructura adecuada, confort higrotérmico, etc. Siendo esta ultima la que tiene mayor efecto sobre el usuario ya que al no contar con esta, la mayoría de las construcciones no tiene el planteamiento adecuado para una regulación térmica apropiada, según la Ley de Desarrollo Urbano, Ordenamiento y Vivienda para el Estado de Veracruz de Ignacio de la Llave (Ley 241, 2017), en su título octavo, artículo 82 dice que el instituto, en coordinación con las autoridades competentes, deberá prever en la construcción de la vivienda y el hábitat, la implementación de técnicas y dispositivos que permitan el ahorro energético, aprovechen los recursos naturales de forma racional, combatan la contaminación e impulsen una conciencia de sustentabilidad del medio ambiente.
Bajo esta premisa el presente trabajo desarrolló el planteamiento del diagnóstico bioclimático en la vivienda petrolera en Poza Rica, Veracruz (México), el cual buscara un análisis bioclimático y generar esquemas de diseño para desarrollar espacios con mejor confort climático, desde el origen de la ciudad, y el arribo de trabajadores tanto de este ramo como de la industria de servicios; tan solo entre los años 2000 y 2010 la población aumentó un 24.6%, equivalente a 40 473 habitantes, haciendo un total de 193 311 habitantes. Esta situación genera una demanda cada vez mayor de lugares para habitar y las llamadas Viviendas de Interés Social-VIS surgieron para dar respuesta a la clase trabajadora que se acerca a las zonas urbanas en busca de empleo y de mejores oportunidades (Instituto Nacional de Estadística y Geografía-INEGI, 2009).
Varias empresas públicas y privadas surgieron para dar solución a la demanda de VIS y sí bien es cierto que satisficieron la necesidad de una gran cantidad de gente, también cabe mencionar que este tipo de vivienda presenta problemáticas en dimensiones mínimas habitables, vicios ocultos y de acondicionamiento climático entre otros, generado por la falta de planeación a la hora de desarrollar los proyectos de viviendas.
Desde que aparecieron y hasta la actualidad las VIS han sufrido cambios en sus superficies construidas, y en los últimos años ha disminuido un 17.5%. Estas áreas construibles se han ido modificando principalmente por el alza de los precios en los materiales de construcción (por factores internacionales) y como consecuencia ha hecho que las VIS sean construidas con materiales que resultan insuficientes para soportar las condiciones climáticas (INEGI, 2010).
Por lo que una vivienda, al no contar con las condiciones higrotérmicas, acústicas y lumínicas necesarias, puede repercutir en el estado de confort del usuario en estos espacios, generando problemas de confort y salud. Esta responsabilidad recae en el proyectista, ya que, al no generar los espacios adecuados y condicionados para la zona, crea un espacio en el cual no se podrá desenvolver adecuadamente la actividad del hogar, por lo que esta investigación se centra en realizar una serie de diagnósticos los cuales verifiquen la mala aplicación de diseño en la vivienda ya construidas en el sitio, y dejar en claro que este análisis es vital realizarlo antes de que se proyecte una casa habitación o un fraccionamiento habitacional (Instituto Nacional para el Federalismo y el Desarrollo Municipal-INAFED, 2016).
En consecuencia el desarrollo de viviendas que posean aspectos de diseño bioclimático debería ser una realidad inmediata en nuestro país, ya que en los constantes cambios climáticos que se están teniendo se remediaría evolucionando el diseño y la construcción del hábitat, por lo que pensar en nuestro medio contextual es imprescindible a la hora de ejecutar una propuesta de vivienda sustentable, por lo que en nuestro país se encuentra ya reglamentado por las normas del Consejo Nacional de la Vivienda (CONAVI, 2018) las cuales incentivan el mejoramiento de las viviendas y estatutos que ayuden a reducir la perdida de transferencia térmica dentro de los espacios habitables.
Por lo que el propósito de esta disertación es plantear estrategias bioclimáticas para aplicarlas en el diseño y construcción de casas habitación del tipo interés social adecuado a las condiciones climáticas de Poza Rica poniendo en práctica la hipótesis mencionada. Con el fin de dar una alternativa de vivienda, la cual cumpla las condiciones higrotérmicas de habitabilidad brindando un hogar digno y sostenible al usuario (Higuera, 2006; Izard y Guyot, 1980).
Variables del Estudio
Por lo regular nunca se recurre a un análisis bioclimático para gestar algún proyecto arquitectónico en esta zona. Lo único que los proyectistas toman en cuenta al momento de diseñar es la orientación y vientos dominantes, para que de algún modo se oriente el proyecto adecuadamente, pero con esto no es suficiente para crear espacios de confort para el usuario. Para sustentar el estudio bioclimático de la ciudad Poza Rica, nos basaremos en las investigaciones hechas por el Dr. Baruch Givoni donde indica el índice de tensión térmica y que tipo de estrategias debe realizar para generar un diseño arquitectónico amigable al ambiente.
Para comprender que plantea Givoni es importante entender la publicación de su libro Man, Climate and Architecture publicado en 1969, en el cual plantea la relación entre el confort humano, el clima y la arquitectura (Figura 1). Uno de los resultados de su trabajo fue un climograma realizado sobre un diagrama psicrométrico donde traza una zona de confort higrotérmico para invierno y verano. Luego propone otras zonas donde es posible alcanzar el confort mediante la incorporación y/o aplicación de estrategias de diseño pasivo, esto con el objeto de configurar el espacio arquitectónico con elementos para que ayuden a mitigar la transferencia térmica. Fuera de estas zonas se vuelve necesario el uso de sistemas termo mecánicos de acondicionamiento ambiental sea para calefacción como para refrigeración (Givoni, 1969).
|
Carta Psicrométrica de Givoni. |
|
|
|
Fuente: Elaborado a partir de Givoni (1969), Morales (2007). |
La carta bioclimática de Givoni se basa en el Índice de Tensión Térmica-ITS para delimitar la zona de bienestar, y su aplicación es muy adecuada en climas cálidos de regiones áridas. Este método tiene en cuenta las características de la construcción para modificar las condiciones del clima exterior, ya que el índice de tensión térmica se centra en encontrar la temperatura ideal que debería tener el espacio habitable, esta zona climática la encontraremos con la aplicación de la fórmula de Szokolay, la cual determina la franja de confort por medio de variables climáticas encontradas en la zona de estudio y con ella se determinar un colchón térmico de confort.
Givoni propuso una carta bioclimática en la que en el eje de abscisas se representan las temperaturas de bulbo seco (obtenida de los observatorios climáticos) y las ordenadas representan la tensión parcial de vapor de agua contenido en el aire; las líneas curvas, psicrométricas, representan la humedad relativa. Se delimitan varias zonas cuyas características de temperatura y humedad indican la conveniencia de utilizar unas determinadas estrategias de diseño en la edificación. En aquellas zonas en las que se superponen distintas estrategias, se puede usar una o varias acciones del conjunto de las recomendadas (Morales, 2007).
Su modelo permite, que, mediante la inserción de valores de temperatura y humedad de medias mensuales en el climograma, podamos trazar las características bioclimáticas de un sitio. Pero lo más importante es, que, de su interpretación, sugiere estrategias de diseño para resolver un proyecto de edificación, a fin de mantenerlo en la zona de confort sin uso de energía adicional a la del sol, el viento, las temperaturas y la humedad ambiente.
Geolocalización y Condiciones del Sitio
Para poder determinar las condiciones del sitio, se realizará una serie de mapeos del municipio de Poza Rica, donde se podrán ver las condicionantes geográfica, hidrológica, uso de suelo, tipo de subsuelo, para determinar cuál sería una zona de oportunidades donde realizar una correcta construcción de zonas habitacionales y para este estudio realizar el diagnostico bioclimático de estas áreas. El municipio se encuentra ubicado en la región del Totonacapan, en las coordenadas 20° 32” latitud norte y 97° 27” longitud oeste, a una altura 50 msnm. Limita al noroeste y este con Papantla; al sur con Coatzintla; al noroeste con Tihuatlán. Su distancia aproximada al nornoroeste de la capital del estado es de 290 km por carretera (INEGI, 2010).
Por su condición geográfica el centro de la ciudad se asienta en un pequeño valle sobre la cuenca del río Cazones, en la llanura costera del Golfo de México, con una altitud promedio de 60 msnm, aunque la mayor parte del territorio se asienta sobre suelos irregulares, en su mayor parte lomeríos al noreste de la ciudad, entre los que sobresale el Cerro del Mesón, con una altura máxima de 242 msnm. Los suelos preponderantes son del tipo vertisol, con un alto contenido de arcillas expansivas que forman grietas en temporadas de sequía.
La hidrografía del municipio de Poza Rica está enclavada en la cuenca hidrográfica del río Cazones; este río de 100 km de longitud nace en la región montañosa del estado de Hidalgo y desemboca en el Golfo de México, tiene un escurrimiento promedio anual superior de 40 m3/s en su desembocadura. La ciudad también se encuentra circundada por varios arroyos tributarios del río Cazones como son el Mollejón, Hueleque, Salsipuedes y Arroyo del Maíz, que regularmente se ven afectados por inundaciones en la temporada anual de lluvias.
Los ecosistemas principales que coexisten en el municipio son de bosque mediano perennifolio con especies de guarambo, jonote, guanactle y sangrado, donde se desarrolla una fauna compuesta por poblaciones de conejos, armadillos mapaches, tlacuaches, tejones y coyotes.
Cuenta con yacimientos de petróleo y gas natural además de una industria petroquímica.
Su uso del suelo esta compuesta por la zona urbana (66%), agricultura (20%), vegetación-pastizal (8%) y selva (6%), en el mapa podemos observar la traza urbana con su uso de suelo correspondiente. Se observa que la mayor parte de la ciudad es de uso Habitacional Unifamiliar Medio. La zona de comercio se ubica a lo largo del boulevard principal (Tabla 1). La zona de industria al suroeste y la zona de reserva principalmente al este y sur de la ciudad (Figura 2) (INAFED, 2016).
Porcentajes de Uso de Suelo dentro de la Zona Urbana.
|
Características de Uso del Suelo |
|
|
Habitación Plurifamiliar |
2 |
|
Habitación Unifamiliar Alto |
7 |
|
Habitación Unifamiliar Medio |
60 |
|
Habitación Unifamiliar Bajo |
3 |
|
Centro de Barrio |
2 |
|
Centro Urbano |
2 |
|
Subcentro Urbano |
1 |
|
Equipamiento Urbano |
4 |
|
Usos Mixtos con Vivienda |
6 |
|
Usos Mixtos sin Vivienda |
2 |
|
Usos Mixtos con Industria |
2 |
|
Zona Industrial Ligera |
3 |
|
Zona Industrial Pesada |
3 |
|
Preservación Ecológica |
1 |
|
Reserva Urbana |
1 |
|
Vivienda Rural |
1 |
Fuente: Elaborado a partir de INAFED (2016).
|
Mapa de uso de suelo de la ciudad de Poza Rica. |
|
|
|
Fuente: Elaborado a partir de Del Ángel (2014). |
Extrapolado la información anterior de los datos de hidrología, ecología, subsuelo y uso de suelo, se genera el mapa de oportunidades, el cual se puede observarse las áreas aptas y no aptas para la construcción habitacional en la ciudad de Poza Rica, esto conlleva a definir las características que tiene cada área en la ciudad en el mapa (Figura 3).
Ya identificadas las seis franjas de este mapeo, se generó la primera resolución de este estudio según sus características del suelo y el contexto, así como cuales serían las áreas ideales o inadecuados para la construcción, ya sea porque las características de este no sean las propicias para desplantar estructuras o por ser propensas a estancamientos de agua o inundaciones (Morales, 2007).
|
Zonas aptas y no aptas para la construcción. |
|
|
|
Fuente: Elaborado a partir de Morales (2012a). |
En consecuencia, se localizan áreas de la ciudad de Poza Rica donde es posible realizar casos de estudios en colonias principales que están dentro de las zonas óptimas de construcción. Como se puede observar las colonias son Reyes Heroles, Arroyo del Maíz y Los Mangos en el noreste de la ciudad; y Petromex, Petrolera y Las Huastecas en la parte este de la ciudad de Poza Rica (Figura 4).
Una vez distinguidas las características geográficas del sitio, es primordial conocer su comportamiento climático para proceder con el estudio bioclimático de la ciudad de Poza Rica, y así poder formular el diagnostico bioclimático que nos señalaran las pautas de diseño para generar un microclima en el espacio arquitectónico dentro de la vivienda (Del Ángel 2014; Morales, 2007).
|
Zonas aptas y no aptas para la construcción. |
|
|
|
Fuente: Elaborado a partir de Del Ángel (2014). |
Para poder realizar una buena simulación, primeramente, es necesario hacer una carta solar del lugar exacto del proyecto de vivienda. Esto para conocer la trayectoria solar y la posición del sol en determinada época del año, con el fin de establecer zonas donde se pueda aprovechar la energía e iluminación solar, principalmente en invierno cuando las condiciones del tiempo son frías y es necesario calentar la vivienda. Y, en verano es todo lo contrario, se tendría que diseñar elementos arquitectónicos para proteger del asoleamiento y así evitar que la radiación solar aumente la temperatura interior de la vivienda.
Para realizar el diagrama de recorrido solar se proyecta la bóveda celeste sobre un plano paralelo al horizonte. El centro del círculo representa el punto de observación y su circunferencia el horizonte; el disco es la proyección de una semi-esfera centrada, este punto representa la bóveda celeste. Las curvas de los meses son arcos de círculos centrados sobre el eje vertical que muestran las trayectorias del sol.
El siguiente diagrama se elaboró en el software Ecotect (version 2011), y muestra el recorrido solar en la ciudad de Poza Rica (Figura 5), con coordenadas 20° 32’ 01” N y 97° 27’ 32” O, donde se indica los parámetros de estudio que se utilizaron para la simulación del modelo de la vivienda (Brown 1994; García y Fuentes, 1985).
|
Recorrido solar anual en la ciudad de Poza Rica. |
|
|
|
Fuente: Elaborado a partir de Morales (2007). |
Condiciones Climáticas
A continuación, se presenta la información necesaria para comenzar el análisis del clima del sitio, Poza Rica de Hidalgo, Ver.
Se realizo a través de una solicitud a la Comisión Nacional del Agua-CONAGUA (2015) solicitando información histórica del clima en la ciudad de Poza Rica. Dicha comisión facilitó los datos solicitados en un solo archivo de base de datos “a granel” con información diaria que comprende entre los años 1955 al 2009, de estos elementos climáticos como: temperatura (máxima y mínima), intensidad y dirección del viento, precipitación, evaporación, nubosidad, humedad relativa e intensidad de la radiación solar, entre otros, estos datos se visualizaron y calcularon con el software Meteonorm (version 7), ya que según la CONAGUA (2015) no computa estos datos del clima en esta ciudad.
Se procedió a separar la información por elemento climático para su fácil comprensión y análisis, mismos que serán mostrados en una tabla donde los datos estarán clasificados según su indicador para un mejor entendimiento de la información y del comportamiento de los elementos del clima, para posteriormente desarrollar el análisis de resultados con el estudio histórico del clima de la ciudad de Poza Rica, Ver. (Morales, 2011a).
Primeramente, se verificó el rango de temperatura promedio anual que va de 19.58°C a 30.49°C, situándose en un clima cálido, y las temperaturas más extremosas registradas han sido de –0.5°C como mínima y una máxima de 47°C. Se observa que los meses más caluros son abril, mayo, junio, julio, agosto, septiembre y octubre, con temperaturas máximas por arriba de los 30°C y las mínimas por arriba de los 20°C. Es importante mencionar que en los meses de junio, julio y agosto se observa una ligera oscilación de temperaturas que no tiene mayor relevancia, ya que siguen siendo calurosos. Los meses templados y fríos son enero, febrero, marzo, noviembre y diciembre, con temperaturas máximas por debajo de los 28°C y mínimas por debajo de los 18°C. por lo que los meses más calurosos son mayo y junio con una temperatura máxima promedio de 34.71°C y el mes más frío es enero con un promedio de temperatura mínima de 14.40°C.
El comportamiento de la Humedad Relativa no es tan drástico como lo es el de la temperatura. El rango se mantiene entre los 70% y 80% de HR.
Se tiene una precipitación anual de 1 136.37 mm; el comportamiento de las lluvias va desde escasa hasta muy abundante, teniendo un rango de 32.22 mm de precipitación mínima mensual, que comprende el mes de marzo, a 224.93 mm de precipitación máxima mensual en el mes de septiembre. Los meses con abundante lluvia son junio, julio, agosto, septiembre y octubre, representando el 67.49% de la precipitación anual. Los meses con lluvias escasas son enero, febrero, marzo y diciembre.
El cielo de esta ciudad por lo general está parcialmente nublado en los meses de primavera, verano y parcialmente en otoño. Los meses en los que predomina el cielo nublado son enero, febrero, noviembre y diciembre. Estos datos nos sirven para justificar la eficiencia de dispositivos solares si fuese el caso.
La intensidad de los vientos dominantes, según la escala Beaufort, es débil con un rango de velocidad de entre 0.3 m/s a 3.3 m/s con procedencia del noreste. Con excepción en los meses de invierno donde el viento cambia de intensidad y dirección, la intensidad disminuye a viento en calma (0.0 m/s a 0.2 m/s) con procedencia del Norte (Tabla 2) (Morales, 2012b).
Tabla de climatológica para la ciudad de Poza Rica.
|
Parámetros |
1955 - 2009 |
Promedio Anual |
|||||||||||
|
ENE |
FEB |
MAR |
ABR |
MAY |
JUN |
JUL |
AGO |
SEP |
OCT |
NOV |
DIC |
||
|
Temperatura |
|
|
|||||||||||
|
Máxima |
24.14 |
25.95 |
29.14 |
32.35 |
34.71 |
34.71 |
33.71 |
34.18 |
32.88 |
31.04 |
27.83 |
24.92 |
30.46 |
|
Mínima |
14.40 |
15.41 |
17.83 |
20.14 |
22.80 |
23.37 |
22.69 |
22.67 |
22.21 |
20.34 |
17.59 |
15.50 |
19.58 |
|
Media |
19.27 |
20.68 |
23.48 |
26.24 |
28.75 |
29.04 |
28.20 |
28.43 |
27.55 |
25.69 |
22.71 |
20.21 |
25.02 |
|
Humedad Relativa |
|
|
|||||||||||
|
Promedio en % |
79.00 |
78.00 |
74.00 |
73.00 |
72.00 |
73.00 |
73.00 |
73.00 |
76.00 |
77.00 |
77.00 |
79.00 |
75.33 |
|
Precipitación |
|
|
|||||||||||
|
Promedio en Mm |
38.76 |
37.22 |
32.36 |
57.41 |
75.20 |
136.36 |
119.40 |
130.75 |
224.93 |
155.54 |
80.28 |
48.17 |
1136.37 |
|
Vientos Dominantes |
|
|
|||||||||||
|
Velocidad (M/S) |
0.30 - 3.30 |
0.30 - 3.30 |
0.30 - 3.30 |
0.30 - 3.30 |
0.30 - 3.30 |
0.30 - 3.30 |
0.30 - 3.30 |
0.30 - 3.30 |
0.30 - 3.30 |
0.30 - 3.30 |
0.00 - 0.20 |
0.00 - 0.20 |
0.30 - 3.30 |
|
Dirección |
N |
NE |
NE |
NE |
NE |
NE |
NE |
NE |
NE |
NE |
N |
N |
NE |
Fuente: Elaborado a partir de Morales (2012b).
Metodologia
Hipótesis de Evaluación Biológica
La evaluación biológica se basa en las sensaciones humanas. Trasladando los datos del ambiente a una gráfica bioclimática, en intervalos regulares, obtendremos una “diagnosis” de la región, en este caso de la ciudad de Poza Rica, con la importancia relativa de los diversos elementos climáticos. El resultado del proceso descrito anteriormente puede medir en dos premisas; la primera mediante la fórmula de Szokolay, el cual podremos obtener información acerca de las medidas más convenientes a tomar para recuperar el grado de confort adecuado en cualquier fecha del año, el segundo paso es que para que este en un rango de confort la transferencia térmica, la humedad relativa no debe exceder de entre 40 a 60% de HR, como lo recomendo Givoni (1969); si la HR es mayor, hay un problema de saturación por humedad en el ambiente o si esta es menor el ambiente es seco por falta de humedad, por lo que con estos pasos podremos diagnosticas cuando esta un espacio en zona de confort en la carta psicométrica del Dr. Givoni (Moreno, 1991).
Por lo que ahora primero se determinaremos el rango de confort, para realizar esto debemos tomar las temperaturas medias anual del sitio, y en consecuencia utilizamos la fórmula de Szokolay (1):
Posteriormente obtenemos el rango de confort local, para la ciudad de Poza Rica, que es de 22.36°C a 28.36°C. Los meses y/o días en los que la temperatura sobresalga de este rango, ya sea por debajo o por arriba del mismo, se necesitarán aplicar estrategias bioclimáticas para mantener confortables los espacios en la vivienda (Olgyay, 2019; Morales, 2012b).
Clasificación Bioclimática
Para esta clasificación se utilizan como parámetros de base la temperatura promedio del mes más cálido y la precipitación anual.
Considerando la temperatura promedio del mes más cálido se determinarán los requerimientos de enfriamiento, confort o calentamiento en verano según el siguiente rango:
Para determinar los grados de aridez o humedad se considera la precipitación pluvial anual, pudiéndose clasificar en uno de estos tres rangos:
Con estos 6 grupos se puede clasificar la ciudad de Poza Rica en una zona climática.
El mes más cálido de Poza Rica es junio, teniendo como máxima 34.71°C, una mínima de 23.37°C y una media de 29.04°C. Esto determina las premisas de enfriamiento en la ciudad. La precipitación anual es 1136.37 mm clasificando a la ciudad como húmeda
Estos datos establecen que la ciudad de Poza Rica tiene un clima Cálido-Húmedo. Dicha clasificación nos genera exigencias de enfriamiento durante todo el año y por sus constantes precipitaciones pluviales es muy húmeda, por lo que su estrategia básica de diseño seria la ventilación inducida (Rodríguez, 2005; Morales, 2011b).
Carta psicrométrica
Para realizar este estudio se integró toda la información anterior, y se efectuó este diagnóstico por medio de gráficas las cuales se agruparon por estaciones en la carta psicrométrica de Givoni:
|
Carta psicrométrica – primavera. |
|
|
|
Fuente: Elaborado a partir de Del Ángel (2014) y Morales (2012a). |
|
Carta psicrométrica – verano. |
|
|
|
Fuente: Elaborado a partir de Del Ángel (2014), Morales (2012a). |
Carta psicrométrica – otoño. |
Fuente: Elaborado a partir de Del Ángel (2014), Morales (2012a). |
Carta psicrométrica – invierno. |
Fuente: Elaborado a partir de Del Ángel (2014), Morales (2012a). |
Esta evaluación biológica manifiesta una serie de necesidades que son requeridas para el confort en el espacio de la vivienda, los elementos climáticos en conjunto no logran conservar dicho estado de confort en la ciudad de Poza Rica, así como lo demuestran los estudios de las cartas psicrométricas: de abril hasta octubre hay una necesidad de mitigar las temperaturas elevadas, y de noviembre hasta marzo sucede lo contrario, no obstante, como lo demuestra el estudio de las gráficas psicrométricas, existen meses en los que se puede lograr el confort dentro de la vivienda, siempre y cuando se aprovechen los elementos climáticos que favorezcan la generación de un espacio micro climático, esto se puede lograr con una buena orientación del espacio habitable (givoni, 1969; Olgyay, 2019; Ching y Shapiro, 2015).
Análisis de Viviendas de Poza Rica
Para esta etapa se analizará uno de los dos modelos de viviendas de interés social, que se encuentra ubicadas en el fraccionamiento Los Mangos II, misma que se encuentra dentro de la “Zona de Oportunidades” o zona apta para la construcción en la ciudad de Poza Rica, esto mencionado con anterioridad en esta disertación.
Se determina realizar una simulación de un modelo digital en el software Ecotect (simulación solar) y Autodesk CFD (simulación de viento), para que este estudio pueda simular las condiciones de orientación en las que se realizaron las viviendas, en las cuales no fueron tomadas las orientaciones deseadas, por ello bastara con realizar el análisis de un modelo de vivienda de este fraccionamiento para fundamentar las recomendaciones esquemáticas que debe de tener el espacio habitable en esta zona (Morales, 2007).
Viviendas de interés social en el fraccionamiento los mangos II
Se ubicó el área de estudio al Oeste-Noroeste de la ciudad de Poza Rica, situada dentro de la zona ideal para construcción de viviendas determinada anteriormente, por sus características de zona alta sin encharcamientos y con suelo óptimo para estructuras de más de dos pisos (Figura 10).
|
Ubicación del Fraccionamiento Los Mangos II. |
|
|
|
Fuente: Elaborado a partir de Morales (2011b). |
Modelo Tipo 1 de Vivienda de Interés Social
En lo general, dentro del fraccionamiento, este módulo de vivienda se encontrará agrupado por par, dispuestas de forma opuesta en su colindancia en común a modo de eje simétrico.
Este modelo de vivienda consta de un programa arquitectónico en la planta baja que tiene una: sala, cocina, comedor, escalera como circulación vertical, patio de servicio y cochera; en la planta alta: dos recamaras, un baño y un vestíbulo. La vivienda está situada en el conjunto según la orientación de los cuatro puntos cardinales, esta selección fue hecha solamente para acomodar la lotificación de la vivienda y no para una adecuada orientación que regulara la sensación térmica dentro del espacio (Figura 11; Figura 12) (INAFED, 2016).
|
Módulo 1 de vivienda de interés social en el fraccionamiento Los Mangos II, planta baja. |
|
|
|
Fuente: Elaborado a partir de Morales (2011b). |
|
Módulo 1 de vivienda de interés social en el fraccionamiento Los Mangos II, planta alta. |
|
|
|
Fuente: Elaborado a partir de Morales (2011b). |
Para poder desarrollar bien la simulación solar de este modelo de vivienda se verifica las orientaciones que tiene dentro del fraccionamiento, lo cual ayudara a confirmar si el diseñador de dichas viviendas contempló las posiciones adecuadas para edificar dichos espacios (Figura 13), y dar un diagnóstico acertado en el diseño de asolamiento y orientaciones de los vientos, y así comprobar si hay una correcta regulación micro climática dentro del espacio habitable.
|
Orientaciones de vivienda de interés social en el fraccionamiento Los Mangos II. |
|||
|
|
|
|
|
|
Fuente: Elaborado a partir de Morales (2011b). |
Simulaciones del Hábitat
Análisis de Asoleamiento
En la siguiente fase de la investigación se ha analizado el efecto de asoleamiento por medio del software Ecotect Analysis (2011), el cual examina el asoleamiento en las fachadas de la vivienda, por lo que se estudia consecutivamente las estaciones más extremas de la zona, esta son el verano e el invierno, ya anteriormente se realizaron la cartas psicrométricas de las cuatro estaciones y no varían mucho entre sus estaciones, pero si en verano e invierno, también se toma las horas solares que afectan más a las edificación, las cuales son: 9:30 am, 12:00 pm y 15:30 pm, esta información indicará si están correctamente orientadas o si tienen aditamentos que puedan mitigar el sobrecalentamiento de la vivienda.
Como primer estudio se realizó el análisis de la orientación norte, donde se observa que en verano: el asoleamiento directo es recibido por las superficies orientadas al norte y al oeste en un periodo de 12:00 pm a 15:30 pm. Afectando principalmente a los comedores y a las recamaras “1” de cada vivienda, y a la sala y recamara “2” de la vivienda más cerca del oeste, mismos que carecen de estrategias de protección solar.
En invierno: se observa que las superficies afectadas por el asoleamiento directo son las orientadas al sur y al oeste en el periodo de 12:00 pm a 15:30 pm. Afectando principalmente a la cocina, sala, baño y recamara “2” de cada vivienda.
En este caso las fachadas principales no se ven beneficiadas por el asoleamiento directo (Figura 14), ya que en temporadas frías estas no reciben asoleamiento requerido en ningún horario y en verano dichas fachadas reciben un mínimo de asoleamiento, todo esto provocando que en verano pueda lograrse un cierto grado de confort ya que no hay ganancias de calor considerables, pero en invierno esta orientación se torna fría en las viviendas y no hay ganancias de calor donde se requieran (Morales, 2007; 2012a).
|
Vista de Fachada Principal: Norte – Alzado, Solsticio de verano e invierno I. |
|
|
|
|
|
Fuente: Elaborado a partir de Morales (2011b). |
Posteriormente se realiza el segundo estudio de orientación al oeste, donde prestamos atención en verano: las fachadas orientadas al oeste son las que reciben el máximo de asoleamiento directo, siendo las áreas más afectadas la sala, comedor y recamaras “1” y “2” de cada vivienda.
En invierno: se puede observar que, por la forma y disposición de las viviendas solo una vivienda es beneficiada por el asoleamiento, siendo esta misma quien obstruye parte del asoleamiento a la vivienda inmediata, esto asociado a la mala configuración de su forma, el asoleamiento no es equitativo. Las áreas de la vivienda beneficiadas por el asoleamiento son la sala, comedor y las recamaras “1” y “2” de la vivienda más cerca del sur.
En este caso las fachadas principales se ven fuertemente afectadas por el asoleamiento en verano, creando un efecto nada confortable para las viviendas; y el asoleamiento no es equitativo en invierno por la misma disposición y forma de las viviendas (Figura 15), solo se benefician las viviendas que están más cerca del sur (Morales, 2012a).
|
Vista de fachada principal: Oeste – Alzado, Solsticio de verano e invierno. |
|
|
|
|
|
Fuente: Elaborado a partir de Morales (2011b). |
Siguiendo con el estudio solar se genera el tercer análisis con orientación al sur, se puede observar en verano: que las fachadas orientadas al norte y al oeste son las más afectadas por el asoleamiento, siendo las áreas más afectadas de cada vivienda la cocina, comedor, recamara “1”, baño y los patios de servicio.
En invierno: se puede prestar atención que las superficies orientadas hacia al sur y al oeste son las que un reciben un asoleamiento directo entre las 12:00 pm y las 15:30 pm. Las áreas beneficiadas de las viviendas son la sala, comedor y las recamaras “1” y “2”.
En esta disposición, las viviendas están más cerca de la orientación recomendada por Baruch Givoni (Figura 16), en verano las fachadas principales se encuentran protegidas, pero por la forma y disposición de las viviendas tienen algunas condiciones que provocan una pequeña desventaja en una de las viviendas, obstruyendo el asoleamiento en invierno (Morales, 2011a; 2012a).
|
Vista de fachada principal: Oeste – Alzado, Solsticio de verano e invierno. |
|
|
|
|
|
Fuente: Elaborado a partir de Morales (2011b). |
Por último, se realiza el estudio orientado hacia el este, el cual se verifica que en verano: se puede observar que las fachadas que reciben mayor asoleamiento directo son las orientadas hacia el oeste, afectando a la sala, comedor, recamara “1” y “2” de la vivienda más cerca al oeste.
En invierno: observamos mayor asoleamiento en fachadas orientadas al sur y oeste, en este caso las áreas beneficiadas son la sala, cocina, recamara “2” y el baño de ambas viviendas.
Con esta orientación de la vivienda se verifica que las fachadas principales solo las que reciben un asoleamiento directo por las mañanas, mientras que el asoleamiento más intenso lo recibe las fachadas orientadas al sur y al oeste, recibiendo un asoleamiento directo en las áreas que no son necesarias, ya sea en verano o en inverno, esto reduce las posibilidades de confort dentro de la residencia.
Según el análisis realizado a este módulo se puede concluir que la orientación óptima para un conjunto habitacional es hacia el sur, ya que en esta orientación el asoleamiento es equitativo para todo el conjunto de viviendas; una disposición hacia el este y al oeste podrían obstruir el asoleamiento de las viviendas en los extremos del conjunto, y afectarlas a ciertas horas del día (Figura 17).
Otro factor estudiando fue el aprovechamiento del asoleamiento, ya que la forma de la fachada principal no es plana y la distribución del asoleamiento no es equitativa, ya que la misma forma, según la orientación, obstruye el asoleamiento para las demás viviendas. También se verifico una superficie la cual, sin importar la orientación, la forma y hora del día, siempre recibe asoleamiento directo: la cubierta. El sobrecalentamiento en verano de esta superficie puede dificultar la sensación de confort en las áreas bajo la cubierta, aunque no tengan asoleamiento directo por su fachada (Morales, 2011b).
|
Vista de fachada principal: Este – Alzado, Solsticio de verano e invierno. |
|
|
|
|
|
Fuente: Elaborado a partir de Morales (2011b). |
Análisis de Viento
Orientación de la fachada principal: Norte, vientos dominantes: Noreste (del mes de febrero a octubre)
En la siguiente simulación de viento se realizó por Autodesk CFD (versión 2021), el cual observamos como ingresan el aire a la vivienda por los vientos provenientes del noreste, los cuales son los vientos dominantes de la ciudad de Poza Rica. Para esta primera practica se realiza del norte y noreste de los meses febrero a octubre, y se puede prestar atención a estos meses que son los más calurosos, primeramente, se realiza el análisis de la planta baja y vemos como el viento afecta principalmente a la sala de la vivienda próxima al Este dotando a esta área de buena ventilación. Los comedores, a pesar de que el viento corre entre ellos por uno de sus lados, se crean sombras eólicas en estas áreas donde es la entrada y salida del viento, estas zonas están mal configuradas y lo que hacen es evitar que el viento sea distribuido en el espacio.
En la planta alta se observa que el viento ingresa a la vivienda de forma similar a la planta baja. En la recamara “2” de la vivienda siguiente al Este, también hay una buena ventilación cruzada y un aumento de la velocidad por efecto Venturi (Figura 18). En las recamaras “1” de cada vivienda se observa el mismo efecto observado en los comedores de la planta baja.
|
Imagen experimental del comportamiento del viento procedente del noreste en planta baja con fachada orientada al norte. |
|
|
|
|
|
Fuente: Elaborado a partir de Del Ángel (2014), Morales (2012a). |
Orientación de la fachada principal: Oeste, vientos dominantes: Noreste (del mes de febrero a octubre)
En esta orientación oeste y noreste, la vivienda en planta baja cuenta con una buena ventilación y solo se observa nuevamente las sombras eólicas descritas anteriormente en el comedor (Figura 19), esto debido a que la entrada y salida del viento están obstruidas, lo cual evita que el viento se distribuya en todo el espacio. En la planta alta se observa el mismo efecto de las sombras eólicas en las recamaras “1” de las viviendas y el cubo de escalera, en este caso se vuelve una zona muerta de ventilación (Morales, 2007; 2012a).
|
Imagen experimental del comportamiento del viento procedente del noreste en planta baja con fachada orientada al oeste. |
|
|
|
|
|
Fuente: Elaborado a partir de Del Ángel (2014), Morales (2012a). |
Orientación de la Fachada Principal: Sur, vientos dominantes: Noreste (del mes de febrero a octubre)
En esta ubicación sur y noreste se verificó la penetración del viento en la vivienda, esta dirección ciertamente es buena hasta cierto punto. Las zonas principales como la sala poseen buena ventilación, el viento entra y sale a estos espacios sin mayores complicaciones, solo se observan sombras eólicas en el comedor y en el cubo de escalera. En la planta alta las recamara “2” poseen de buena ventilación (Figura 20), a diferencia de las recamaras “1” de ambas viviendas, el viento llega con dificultad a estos espacios y genera una sombra eólica en cada área.
|
Imagen experimental del comportamiento del viento procedente del noreste en planta baja con fachada orientada al sur. |
|
|
|
|
|
Fuente: Elaborado a partir de Del Ángel (2014), Morales (2012a). |
|
|
Imagen experimental del comportamiento del viento procedente del noreste en planta baja con fachada orientada al este. |
|
|
|
|
|
Fuente: Elaborado a partir de Del Ángel (2014), Morales (2012a). |
Orientación de la Fachada Principal: Este, vientos dominantes: Noreste (del mes de febrero a octubre)
Por último, esta ubicación del este y noreste del modelo se puede observar que el viento entra sin problemas a la vivienda, el cual tiene una buena ventilación cruzada que pasa por todos los espacios de la casa (Figura 21), no se genera nada de sombras eólicas, ni en la planta baja y ni en la planta alta. Por lo que este tipo de configuración puede llegar a beneficiar a la vivienda para bajar la ganancia térmica que se va adquiriendo durante todo el día y así regularizar el microclima del hábitat (Morales, 2011b).
Resultados
Todo el análisis anterior define un resultado, se puede elaborar esquemas de diseño los cuales ayuden a mitigar un poco la transferencia de calor de estas viviendas ya elaboradas, este es el factor principal para la disertación de este trabajo, definir la forma óptima de la vivienda para mitigar la cantidad de energía solar que podría recibir; la forma óptima es aquella que gana el mínimo de calor en verano y pierde el mínimo en invierno (Figura 22), esta forma variará de acuerdo con la región geográfica o zona climática en la que se encuentre:
Muestra de formas de la vivienda. |
Fuente: Elaborado a partir de Morales (2007). |
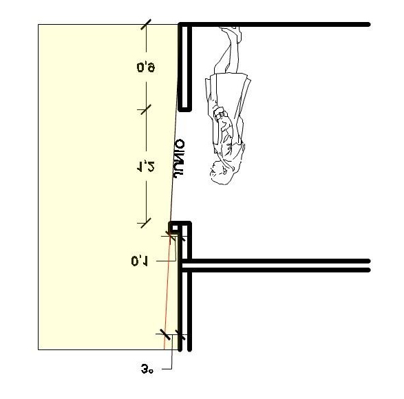
En consecuencia, generar la forma óptima de la vivienda es aquella que tiene menos superficie en las fachadas expuestas a la radiación solar, por lo que el siguiente paso es generar esquemas de control de la forma para mitigar la transferencia de calor, por lo que se desarrollan diferentes tipos de esquemas de control horizontal y vertical, primeramente, desarrollando el esquema horizontal en donde se verifican las inclinaciones del sol en el eje Norte-Sur a lo largo del año (12:00 pm) (Figura 23). Como se determinó en análisis anteriores, los meses más cálidos comprenden de marzo a octubre y los meses fríos de noviembre a febrero. A partir del mes de marzo y hasta octubre se recomienda la utilización de protecciones solares. En este esquema se muestra como el sol incide con un ángulo de 21° sobre la vertical, y para ello es recomendable colocar un alero de mínimo 0.46 m para evitar que el sol penetre a la vivienda.
En el segundo esquema del mes de junio el asoleamiento directo incide en la fachada norte, por lo cual se generó el siguiente esquema de protección solar de solo 0.10 m. En el mes de diciembre se muestra con una protección de alero igual que la de marzo ya que tiene casi el mismo ángulo de incidencia solar. Por cada metro que se requiera proteger del sol se necesitan 0.30 m a 0.46 m de alero, este dependerá si se requiere ganancia térmica dentro del espacio arquitectónico.
|
Esquema de ángulos de incidencia del sol sobre las fachadas de la vivienda. |
|||
|
|
|
|
|
|
Fuente: Elaborado a partir de Morales (2012a). |
|||
Posteriormente, para generar los esquemas de protección vertical se deben conocer los ángulos de incidencia del sol sobre las fachadas afectadas, aplicando los ángulos adecuados se generó las protecciones verticales que aumentan la sombra dentro de la vivienda (Figura 24), teniendo en cuenta que el sol incide por diferentes ángulos de fachadas en la vivienda, analizamos solo los meses que más afecta en asoleamiento, estos son; el mes de marzo y junio, ya que en diciembre se necesita la ganancia de calor, por lo que el mes de marzo, como ya se mencionó es el mes en que comienzan las temperaturas cálidas y por lo tanto los requerimientos de protección solar son elementos a 45° los cuales ayudan a proteger el interior de la vivienda y al no tener ganancias de calor innecesarias, en cuanto a junio puede tener elementos de 13°.
|
Esquema de las inclinaciones del sol con respecto al eje norte-sur. |
||
|
|
|
|
|
Fuente: Elaborado a partir de Morales (2012a). |
Por último, para que la forma de la vivienda sea microclimática en este tipo de clima se debe tener una ventilación adecuada para la regulación de la ganancia térmica o perdida de ella. El viento es un factor determinante en la obtención del confort; pudiendo emplearlo como estrategia de confort bioclimático creando flujos convectivos interiores y minimizando la infiltración tanto de aire frío del exterior como de fugas o puentes térmicos de aire caliente del interior, durante el periodo de bajo calentamiento; y promoviendo la disipación de calor a través de la ventilación o minimizando las infiltraciones de aire caliente durante el periodo de sobrecalentamiento, cuidando, en ambos casos, la cantidad de humedad y la calidad o pureza del aire.
Por lo tanto, la ventilación natural cruzada; es la ventilación que renueva el aire dentro del espacio y se produce exclusivamente por la acción del viento o por la existencia de un gradiente de temperaturas entre el punto de entrada y el de salida, es sin duda la estrategia de enfriamiento pasivo más eficiente y de uso más extendido. Obviamente su aplicación cobra mayor relevancia en los lugares en los que durante todo el año, o parte de él, se tienen temperaturas elevadas.
En la ciudad de Poza Rica los vientos dominantes provienen del “Noreste” y la orientación propuesta para el conjunto de viviendas fue al sur, por consiguiente, el viento impacta con un ángulo de 45° sobre la fachada norte. Para lograr esto se proponen esquemas que puedan hacer ingresar el viento y generar un máximo frescor, esto provocado por la ventilación cruzada dentro de la vivienda con divisiones, es necesario que los flujos de viendo recorran justo por la zona habitable (generalmente al centro del espacio considerado), para este caso, la abertura de entrada debe estar posicionada al centro de la fachada y la abertura de salida debe estar ubicado en el extremo colindante con el muro donde nace la división, así en el primer espacio el flujo cruza casi de manera perpendicular a este y en el siguiente en diagonal, cubriendo los espacios habitables (Figura 25).
|
Disposiciones experimentales para hallar las posiciones ideales de entrada y salida del viento en una planta dividida. |
|
|
|
Fuente: Elaborado a partir de Morales (2012a). |
Discusión
La problemática de no realizar un análisis y diagnostico bioclimático en los anteproyectos habitacionales, en la zona norte de Veracruz, ha ocasionado que el desarrollo de la vivienda de interés social sea cada vez menos confortable, y esto se debe a que los profesionistas desde su formación no han tenido la capacitación o el interés de formarse en esta disciplina, la cual cada vez tiene un papel muy importante en el mundo, ya que el aumento de las temperaturas a nivel global es cada vez más alto, y parte de esta contaminación térmica es ocasionada por una mala proyección en la edificación, ya que posteriormente por este defecto se tienen que contemplar equipos de acondicionamiento climático, por ello es importante concientizar en las dependencias públicas y privadas de realizar los estudios detallados de este tipo de trabajos, que bien empleado pueden generar espacios habitacionales eficientes, y ocasionaría la disminución del uso de tecnologías como el aire acondicionado, es imposible no tenerlo en cuenta este tipo de equipos, pero si disminuir su uso constante.
Una propuesta aquí utilizada para obtener espacios con mejores características constructivas en el emplazamiento fue, generar un mapeo del lugar en donde se verifica los elementos climáticos, topográficos, etc. Necesarios para generar un primer diagnóstico, en este caso se desarrolló un mapa de oportunidades del sitio, el cual brindó información de las zonas verdes que puedan beneficiar a generar un macro clima en el espacio habitable, y así obtener mejores resultados en el diseño de las viviendas, ya que los elementos de la forma arquitectónica se deberían de adaptar a su contexto, lo lamentable es que para este caso de estudio los desarrolladores no contemplaron ningún espacio verde para las viviendas, por lo que se desarrollaron esquemas de control para la protección solar y elementos esquemáticos que puedan ayudar al ingreso total del aire dentro del espacio arquitectónico.
En México existen universidades como la Universidad Autónoma Metropolitana, Universidad Cristóbal Colon, Universidad Nacional Autónoma de México, entre otras, las cuales desarrollan dentro de sus carreras y posgrados, las competencias necesarias del diseño bioclimático, del cual subderivan varias subdisciplinas aplicadas el mejoramiento del confort dentro del espacio arquitectónico, lo que nos lleva a mantener premisas de diseño que nos generen una figura más confortable para cada hábitat de la edificación.
Conclusiones
La investigación se basó en realizar un diagnóstico bioclimático con la información del clima y el análisis cartográfico de la ciudad de Poza Rica, para ello se definió un mapa de oportunidades en base la extrapolación de mapas del INEGI, el cual ayudó a ver las condicionantes del lugar y donde podría ser la mejor zona para edificar una vivienda, en consecuencia, se desarrolló el análisis climático del lugar para así verificar cuales son los meses más complicados que podría afectar el espacio habitable.
Posteriormente se realizaron los estudios en la carta psicrométrico del Dr. Givoni lo cual dio las herramientas para generar una base de datos que ayudó a diagnosticar el modelo. –1 de la vivienda de interés social del fraccionamiento los Mango II, esta referencia sirvió para realizar la simulación digital de dicho modelo, el cual fue un factor muy importante para generar la evaluación del confort espacial del hábitat.
Posteriormente, se realizaron simulaciones, que coadyuvaron a justificar la falta de diseño de la forma de la vivienda, la cual debe cumplir ciertos caracteres para desempeñar un buen confort bioclimático dentro del espacio habitable, este proceso genera una metodología para confeccionar ante proyectos de viviendas más eficaces, y así realizar los esquemas de diseño que se integren al espacio contextual y sirvan para generar espacios micro climáticos más adecuados para los usuarios.
En cuanto a las aplicaciones pasivas bioclimáticas para el mejoramiento del hábitat pueden ser más variadas, como la aplicación de techos verdes, muros verdes, áreas verde como parques que generen zonas macro climáticas en las áreas de los fraccionamientos, pero para esta investigación se centró solamente para diagnosticar y analizar las condiciones que se encuentran la vivienda ya edificada, por lo que esta línea puede desarrollarse para futuras investigaciones, pero dependerá mucho del diseñador implementar dichas premisas en el diseño, antes de ejecutar una aplicación en el proyecto habitacional.
Aunque no todo está concluido en esta investigación, hay puntos que tendrán que estudiarse más a fondo, y así como realizar un estudio más detallado de los diferentes tipos de modelos de vivienda que hay en otros fraccionamientos en las zonas de oportunidades, esto nos ayudara a generar una base de datos para verificar si la vivienda dentro de las áreas está bien configuradas, y consecutivamente desarrollar esquemas de mejoramiento para la viviendas existentes, y así mejorar su confort micro climático dentro del espacio.
Referencias
Autodesk. (2021). Autodesk CFD (versión 2021.0). [Software]. https://www.autodesk.com/products/cfd/overview
Autodesk. (2011). Ecotect Analysis (versión 2011). [Software]. https://www.autodesk.com/
Ching, F. D. K. y Shapiro, I. M. (2015). Arquitectura ecológica. Un manual ilustrado. Gustavo Gili.
CONAGUA. (2015). Centro Hidrometeorológico Regional "Boca del Río" - Veracruz [Conjunto de datos]. https://smn.conagua.gob.mx/es/centro-hidrometeorologico-veracruz-boca-del-rio
CONAVI. (2018). Consejo Nacional de la Vivienda. https://www.gob.mx/conavi
Brown, G. Z. (1994). Estrategias de Diseño arquitectónico: Sol Luz Viento. Trillas.
Del Ángel, L. A. (2014). Esquemas para el desarrollo de viviendas sociales en la ciudad de poza rica. [Tesis de Licenciatura]. Universidad Veracruzana, Poza Rica, México.
Estados Unidos Mexicanos. Gobierno del Estado de Veracruz de Ignacio de la Llave. (18 de diciembre de 2017). Ley Número 241 de desarrollo urbano, ordenamiento territorial y vivienda para el estado de Veracruz de Ignacio de la Llave. Oficio numero 158/2011. https://www.legisver.gob.mx/leyes/LeyesPDF/LDUOTV181217.pdf
García, J. y Fuentes , V. (1985). Arquitectura Bioclimática y Energía Solar: Viento y Arquitectura. Universidad Autónoma Metropolitana. http://hdl.handle.net/11191/1256
Givoni, B. (1969). Man, Climate, and Architecture. Elservier.
Higuera, E. (2006). Urbanismo Bioclimático. Gustavo Gili.
INEGI. (2010). Instituto Nacional de Estadística, Geografía e Informática. https://www.inegi.org.mx/
INEGI. (2009). Prontuario de información geográfica municipal de los Estados Unidos Mexicanos. Poza Rica de Hidalgo, Veracruz de Ignacio de la Llave. INEGI. http://www3.inegi.org.mx/contenidos/app/mexicocifras/datos_geograficos/30/30131.pdf
INAFED. (2016). Instituto Nacional para el Federalismo y el Desarrollo Municipal. https://www.gob.mx/inafed
Izard, J.-L. y Guyot, A. (1980). Arquitectura bioclimática. Gustavo Gili.
Meteotest. (2013). Meteonorm. (version 7) [Software]. https://meteonorm.com
Morales, C. C. (2012a). Diseño de Sistemas por procesos Bioclimáticos en la vivienda. Revista Bitácora Arquitectura (México), 24(1), 58–63. http://www.revistas.unam.mx/index.php/bitacora/article/view/62186
Morales, C. C. (2012b). Diseño de Sistemas Bioclimáticos versátiles hechos por Estructuras orgánicas. Revista de Esencia y Espacio, 10, 60–69. https://repositoriodigital.ipn.mx/bitstream/123456789/25334/1/7-SistemasBioclimaticosEstructurasOrganicas.pdf
Morales, C. C. (2011a). Sistemas de diseño para la vivienda. Revista de Arquitectura, 13(1), 118–127. https://revistadearquitectura.ucatolica.edu.co/article/view/775
Morales, C. C. (2011b, 11-13 October). Diseño de Sistemas Bioclimáticos versátiles hechos por Estructuras orgánicas [Presentación de escrito]. Congreso Internacional de Ciudad y Territorio Virtual, Lisboa, Portugal. https://doi.org/10.5821/ctv.7761
Morales, C. C. (2007). Sistemas Flexibles en la Vivienda. [Tesis de Maestría]. Universidad Cristóbal Colon, Veracruz Ignacio de la Llave, México.
Moreno, S. (1991). Colombia: Arquitectura, Hombre y Clima. SENA - Universidad Nacional. https://hdl.handle.net/11404/3626
Olgyay, V. (2019). Arquitectura y Clima: Manual de Diseño Bioclimático para Arquitectos y Urbanistas. Gustavo Gili.
Rodríguez, M. (2005). Introducción a la Arquitectura Bioclimática. Limusa.
Carlos César Morales Guzmán es Doctor en Arquitectura y Doctor en Estructuras para la Edificación. Universidad Veracruzana (México). https://orcid.org/0000-0002-4499-6968
.
© The author; licensee Universidad de la Costa - CUC.
Módulo Arquitectura CUC no. 29, p. 153–194. Julio - Diciembre, 2022
Barranquilla. ISSN Impreso 0124-6542, ISSN Online 2389-7732.
.
.